欢迎来到知嘟嘟! 联系电话:13336804447 卖家免费入驻,海量在线求购! 卖家免费入驻,海量在线求购!
知嘟嘟
我要发布
联系电话:13336804447
知嘟嘟经纪人
收藏
专利号: 2020224744086
申请人: 新沂市新南环保产业技术研究院有限公司
专利类型:实用新型
专利状态:已下证
专利领域: 水、废水、污水或污泥的处理
更新日期:2024-02-23
缴费截止日期: 暂无
价格&联系人
年费信息
委托购买

摘要:

权利要求书:

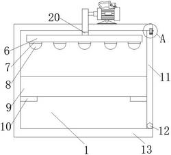
1.一种具有过滤油脂功能的工业污水回收利用装置,包括过滤器(1),其特征在于,所述过滤器(1)的顶部开孔有进水口(2),且过滤器(1)的右侧开孔有出水口(5),所述过滤器(1)的顶部安装有电机(3),且电机(3)的左侧安装有带轮(4),所述带轮(4)的底部安装有第二转轴(20),且第二转轴(20)的底部安装有连接板(6),所述连接板(6)的底部连接有粘扣带(7),且粘扣带(7)的底部连接有吸油球(8),所述过滤器(1)的内部两侧焊接有第一挡板(10),且第一挡板(10)的顶部安装有过滤垫(9),所述过滤器(1)的一侧内部安装有第一转轴(12),且第一转轴(12)的顶部连接有可旋转挡板(11),所述第一转轴(12)的底部连接有固定挡板(13),所述可旋转挡板(11)的顶部开孔有挡板槽(14),且挡板槽(14)的内部安装有第二挡板(16),所述第二挡板(16)的右侧焊接有握手(15),且第二挡板(16)的底部焊接有弹簧架(17),所述进水口(2)的内侧安装有杂物盒(18),且杂物盒(18)的底部安装有过滤网(19)。

2.根据权利要求1所述的一种具有过滤油脂功能的工业污水回收利用装置,其特征在于,所述连接板(6)通过电机(3)构成旋转结构,且连接板(6)被第二转轴(20)均分在过滤器(1)内部。

3.根据权利要求1所述的一种具有过滤油脂功能的工业污水回收利用装置,其特征在于,所述可旋转挡板(11)通过第一转轴(12)与固定挡板(13)构成旋转结构,且可旋转挡板(11)的最大旋转角度为90°。

4.根据权利要求1所述的一种具有过滤油脂功能的工业污水回收利用装置,其特征在于,所述过滤垫(9)呈一形状放置在过滤器(1)的内部,且过滤垫(9)的长度与过滤器(1)的内径一致。

5.根据权利要求1所述的一种具有过滤油脂功能的工业污水回收利用装置,其特征在于,所述吸油球(8)通过粘扣带(7)与连接板(6)构成拆卸结构,且多个吸油球(8)安装在连接板(6)底部。

6.根据权利要求1所述的一种具有过滤油脂功能的工业污水回收利用装置,其特征在于,所述第一挡板(10)呈一形状安装在过滤器(1)内部两侧,且第一挡板(10)的长度与过滤器(1)内部宽度一致。