欢迎来到知嘟嘟! 联系电话:13336804447 卖家免费入驻,海量在线求购! 卖家免费入驻,海量在线求购!
知嘟嘟
我要发布
联系电话:13336804447
知嘟嘟经纪人
收藏
专利号: 2024221226295
专利类型:实用新型
专利状态:未下证
专利领域: 暂无
更新日期:2025-07-09
缴费截止日期: 暂无
价格&联系人
年费信息
委托购买

摘要:

权利要求书:

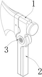
1.一种建筑施工用多功能锤,包括第一钳体(1)和第二钳体(2),所述第一钳体(1)和第二钳体(2)通过销轴(3)转动连接,所述第一钳体(1)和第二钳体(2)上开设有防滑纹(205),其特征在于:所述第二钳体(2)的底端设有第一把手(209),所述第二钳体(2)上开设有插槽(204),所述插槽(204)内安装有第一橡胶锤头(201)或斧头(210),所述第二钳体(2)背离第一橡胶锤头(201)或斧头(210)的一端开设有防滑纹(205),所述第二钳体(2)上位于插槽(204)的下方开设有销孔(208);

所述第一钳体(1)的底端设有第二把手(104),所述第一钳体(1)的上部一侧设有安装座(101),所述安装座(101)的内部镶嵌有第二橡胶锤头(102),所述第二橡胶锤头(102)的外侧盖设有金属盖(103),所述第一钳体(1)背离安装座(101)的一端同样开设有防滑纹(205),且所述第一钳体(1)上同样开设有销孔(208),所述第一钳体(1)和第二钳体(2)的销孔(208)对齐之后通过销轴(3)转动销接。

2.根据权利要求1所述一种建筑施工用多功能锤,其特征在于:所述第一橡胶锤头(201)和斧头(210)上设有插头(202),所述插头(202)上贯穿开设有插孔(203),所述第二钳体(2)上位于插槽(204)处贯穿开设有通孔(207),所述第一橡胶锤头(201)或斧头(210)通过插头(202)插接安装在第二钳体(2)的插槽(204)内之后,通过插销(206)贯穿插孔(203)和通孔(207)进行固定。

3.根据权利要求1所述一种建筑施工用多功能锤,其特征在于:所述金属盖(103)通过螺纹安装在安装座(101)上,且安装座(101)、第二橡胶锤头(102)和金属盖(103)组成金属锤头。

4.根据权利要求1所述一种建筑施工用多功能锤,其特征在于:所述销轴(3)设有轴套(301),所述轴套(301)内设有橡胶内衬(303),所述橡胶内衬(303)上贯穿开设有固定孔(302)。

5.根据权利要求4所述一种建筑施工用多功能锤,其特征在于:所述固定孔(302)在橡胶内衬(303)上均匀分布,所述橡胶内衬(303)的固定孔(302)用于插接固定螺钉,便于取用。

6.根据权利要求1所述一种建筑施工用多功能锤,其特征在于:所述第一钳体(1)和第二钳体(2)通过销轴(3)组合为钳子,并通过防滑纹(205)增加夹持时的摩擦力。