欢迎来到知嘟嘟! 联系电话:13336804447 卖家免费入驻,海量在线求购! 卖家免费入驻,海量在线求购!
知嘟嘟
我要发布
联系电话:13336804447
知嘟嘟经纪人
收藏
专利号: 2024207409070
申请人: 济南平民建筑工程有限公司
专利类型:实用新型
专利状态:已下证
专利领域: 测量;测试
更新日期:2025-04-08
缴费截止日期: 暂无
价格&联系人
年费信息
委托购买

摘要:

权利要求书:

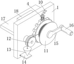
1.一种建筑施工用铅锤测量装置,其特征在于,包括支撑板(1):所述支撑板(1)的前侧转动连接有直杆(2),所述直杆(2)的表面固定连接有斜孔轮盘(3),所述支撑板(1)的前侧焊接有空心限位块(4),所述空心限位块(4)位于斜孔轮盘(3)的上方,所述空心限位块(4)的内腔滑动连接有连接杆(5),所述连接杆(5)的底端焊接有斜面圆头(6),所述空心限位块(4)的底部与斜面圆头(6)的顶部之间焊接有弹簧(7),所述连接杆(5)的表面与弹簧(7)的内腔滑动连接。

2.根据权利要求1所述的一种建筑施工用铅锤测量装置,其特征在于,所述空心限位块(4)的顶端焊接有固定管(8),所述固定管(8)的内腔转动连接有支撑杆(9),所述支撑板(1)的前侧焊接有限位杆(10),所述限位杆(10)位于空心限位块(4)的斜上方。

3.根据权利要求2所述的一种建筑施工用铅锤测量装置,其特征在于,所述斜孔轮盘(3)的前侧通过螺栓固定连接有绳轮(11),所述支撑板(1)的前侧转动连接有辅助导向轮(12),所述辅助导向轮(12)位于绳轮(11)的左侧。

4.根据权利要求3所述的一种建筑施工用铅锤测量装置,其特征在于,所述绳轮(11)的内腔缠绕有连接线,所述连接线的左端固定连接有铅锤(13),所述连接线的表面与辅助导向轮(12)的内壁滑动连接,所述支撑板(1)的前侧转动连接有辅助支撑板(14),所述辅助支撑板(14)位于铅锤(13)的正下方。

5.根据权利要求4所述的一种建筑施工用铅锤测量装置,其特征在于,所述直杆(2)的前端贯穿绳轮(11)的前侧并通过螺栓固定连接有摇杆(15),所述摇杆(15)的前侧转动连接有套筒(16)。

6.根据权利要求5所述的一种建筑施工用铅锤测量装置,其特征在于,所述支撑板(1)的后侧通过螺栓固定连接有限位板(17),所述限位板(17)的顶部通过螺栓固定连接有把手(18),所述限位板(17)的底部固定连接有限位钉(19)。