欢迎来到知嘟嘟! 联系电话:13336804447 卖家免费入驻,海量在线求购! 卖家免费入驻,海量在线求购!
知嘟嘟
我要发布
联系电话:13336804447
知嘟嘟经纪人
收藏
专利号: 2024219504822
专利类型:实用新型
专利状态:未下证
专利领域: 暂无
更新日期:2025-03-05
缴费截止日期: 暂无
价格&联系人
年费信息
委托购买

摘要:

权利要求书:

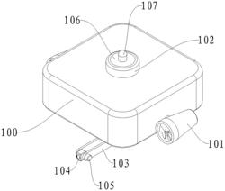
1.一种水下防丢失探测器,包括悬浮架(100),其特征在于:所述悬浮架(100)下侧设有机槽(110),所述机槽(110)内固定连接有双轴电机(111),所述双轴电机(111)动力连接有左右对称的两根伸出外侧的动力轴(108),所述动力轴(108)与所述悬浮架(100)密封转动连接,每根所述动力轴(108)都固定连接有动力架(101),所述动力架(101)内固定连接有固定板(118),所述固定板(118)转动连接有旋转轴(121),所述旋转轴(121)固定连接有多块涡轮叶片(122);

所述悬浮架(100)固定连接有封闭所述机槽(110)的第二密封盖(113),所述第二密封盖(113)下端面固定连接有左右对称的两个固定架(117),所述固定架(117)设有左右对称的两块侧板(115),所述11,5之间转动连接有转动轴(114),所述转动轴(114)固定连接有左右对称的两块转动板(103),所述转动板(103)之间转动连接有防水摄像机(104)。

2.根据权利要求1所述的一种水下防丢失探测器,其特征在于:每个所述固定板(118)都固定连接有第二电机(119),所述固定板(118)都固定连接有第三防护壳(120),所述第二电机(119)位于所述第三防护壳(120)内。

3.根据权利要求2所述的一种水下防丢失探测器,其特征在于:右侧所述侧板(115)右端面固定连接有第三电机(123),所述第三电机(123)与所述转动轴(114)动力连接,右侧所述转动板(103)右端面固定连接有第一点击(124),所述第一点击(124)与所述防水摄像机(104)动力连接。

4.根据权利要求3所述的一种水下防丢失探测器,其特征在于:所述第三电机(123)处设有固定连接于所述侧板(115)上的第二防护壳(116),所述第一点击(124)处固定连接有位于所述转动板(103)上的第一防护壳(105)。

5.根据权利要求4所述的一种水下防丢失探测器,其特征在于:所述悬浮架(100)上端面固定连接有定位架(102),所述定位架(102)内固定连接有定位器(112)。

6.根据权利要求5所述的一种水下防丢失探测器,其特征在于:所述悬浮架(100)内设有空腔(109),所述空腔(109)能够在探测器失去动力时,上浮到水面上。

7.根据权利要求6所述的一种水下防丢失探测器,其特征在于:所述定位架(102)密封固定连接有第一密封盖(106)所述第一密封盖(106)上端面固定连接有警示灯(107)。