欢迎来到知嘟嘟! 联系电话:13336804447 卖家免费入驻,海量在线求购! 卖家免费入驻,海量在线求购!
知嘟嘟
我要发布
联系电话:13336804447
知嘟嘟经纪人
收藏
专利号: 2018205650584
申请人: 四川交通职业技术学院
专利类型:实用新型
专利状态:已下证
专利领域: 计算;推算;计数
更新日期:2023-12-11
缴费截止日期: 暂无
价格&联系人
年费信息
委托购买

摘要:

权利要求书:

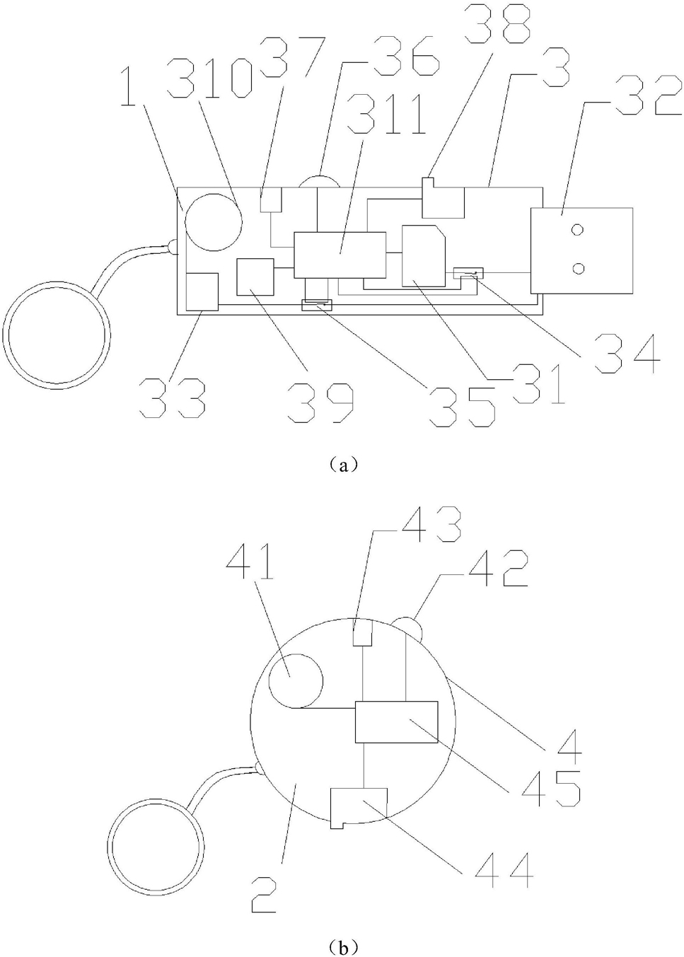
1.一种新型防丢失U盘,其特征在于,包括U盘本体(1)和信号收发器(2),所述U盘本体(1)与信号收发器(2)通信连接;

所述U盘本体(1)包括U盘外壳(3)以及位于U盘外壳(3)内部的存储器(31)、第一防丢失单元、文件保护单元、第一微处理器(311)、接口单元和电源单元,所述第一微处理器(311)分别与存储器(31)、第一防丢失单元、文件保护单元和接口单元通信连接,所述电源单元分别与第一防丢失单元、第一微处理器(311)和接口单元电连接,所述文件保护单元分别与存储器(31)和接口单元固定连接;

所述信号收发器(2)包括外壳(4)以及位于外壳(4)内部的第二防丢失单元、第二微处理器(45)和电池(41),所述第二微处理器(45)与第二防丢失单元通信连接,所述电池(41)分别与第二防丢失单元和第二微处理器(45)电连接。

2.根据权利要求1所述的新型防丢失U盘,其特征在于,所述电源单元包括充电电池(310)和稳压模块,所述充电电池(310)与稳压模块电连接,所述稳压模块作为电源单元的输出端,所述充电电池(310)的输入端作为电源单元的输入端。

3.根据权利要求2所述的新型防丢失U盘,其特征在于,所述接口单元包括USB接口(32)和充电电路模块(33),所述USB接口(32)与第一微处理器(311)通信连接,所述充电电路模块(33)的输入端与USB接口(32)电连接,所述充电电路模块(33)与电源单元的输入端电连接。

4.根据权利要求1所述的新型防丢失U盘,其特征在于,所述文件保护单元包括第一继电器(34)和第二继电器(35),所述第一继电器(34)设置于存储器(31)以及USB接口(32)之间,所述第二继电器(35)设置于充电电路模块(33)以及USB接口(32)之间,所述第一微处理器(311)分别与第一继电器(34)的控制端和第二继电器(35)的控制端通信连接。

5.根据权利要求1所述的新型防丢失U盘,其特征在于,所述第一防丢失单元包括第一提醒装置和通讯装置,所述第一提醒装置和通讯装置均与第一微处理器(311)通信连接,且均与电源单元的输出端电连接。

6.根据权利要求5所述的新型防丢失U盘,其特征在于,所述第一提醒装置包括第一LED灯(36)和第一蜂鸣器(37),所述通讯装置包括第一无线收发模块(38)和GPS模块(39),所述第一LED灯(36)、第一蜂鸣器(37)、第一无线收发模块(38)和GPS模块(39)均与第一微处理器(311)通信连接,且均与电源单元的输出端电连接。

7.根据权利要求1所述的新型防丢失U盘,其特征在于,所述第二防丢失单元包括第二提醒装置和第二无线收发模块(44),所述第二提醒装置和第二无线收发模块(44)均与第二微处理器(45)通信连接,且均与电池(41)电连接。

8.根据权利要求7所述的新型防丢失U盘,其特征在于,所述第二提醒装置包括第二LED灯(42)和第二蜂鸣器(43),所述第二LED灯(42)和第二蜂鸣器(43)均与第二微处理器(45)通信连接,且均与电池(41)电连接。

9.根据权利要求1所述的新型防丢失U盘,其特征在于,所述第一微处理器(311)为C52单片机。

10.根据权利要求1所述的新型防丢失U盘,其特征在于,所述第二微处理器(45)为C52单片机。