欢迎来到知嘟嘟! 联系电话:13336804447 卖家免费入驻,海量在线求购! 卖家免费入驻,海量在线求购!
知嘟嘟
我要发布
联系电话:13336804447
知嘟嘟经纪人
收藏
专利号: 2024219057570
专利类型:实用新型
专利状态:未下证
专利领域: 暂无
更新日期:2025-04-29
缴费截止日期: 暂无
价格&联系人
年费信息
委托购买

摘要:

权利要求书:

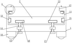
1.一种用于道路货物运输的装货板车,包括板车主体(1)与束缚机构,其特征在于:束缚机构包括内槽(11)与置物连接槽(12),所述内槽(11)与置物连接槽(12)分别开设于板车主体(1)内部与表面并呈连通设置,所述置物连接槽(12)内侧开设有内凹槽(19),所述内凹槽(19)内侧活动连接有固定杆(31),所述固定杆(31)打横设置于内槽(11)内侧,所述固定杆(31)表面设有束缚弹性带(3),所述束缚弹性带(3)一端贯穿内凹槽(19)并位于板车主体(1)外侧,所述固定杆(31)与内槽(11)的连接处设有加固组件。

2.根据权利要求1所述的一种用于道路货物运输的装货板车,其特征在于:所述加固组件包括第二磁吸片(32),所述第二磁吸片(32)设于固定杆(31)顶端端面,所述内槽(11)内侧顶端设有第一磁吸片(18),所述第二磁吸片(32)与第一磁吸片(18)之间为磁吸连接。

3.根据权利要求1所述的一种用于道路货物运输的装货板车,其特征在于:所述板车主体(1)底端端面呈四角分布设有机动轮(10),所述机动轮(10)外侧设有防滑圈。

4.根据权利要求1所述的一种用于道路货物运输的装货板车,其特征在于:所述束缚弹性带(3)的数量设有三条,所述固定杆(31)与内凹槽(19)的数量均为束缚弹性带(3)的两倍。

5.根据权利要求1所述的一种用于道路货物运输的装货板车,其特征在于:还包括连接机构,所述连接机构包括内衬板(2),所述内衬板(2)活动连接于内槽(11)内侧,所述内衬板(2)一侧表面开设有定位连接槽(22),所述板车主体(1)底端开设有与内槽(11)呈连通设置的转槽(14),所述转槽(14)内侧转动连接有转杆(15),所述转杆(15)与转槽(14)的连接处设有轴承(17),所述转杆(15)顶端设有限位杆(16),且所述转杆(15)一端与限位杆(16)均活动连接于定位连接槽(22)内侧,所述定位连接槽(22)的深度为限位杆(16)长度的一点三倍。

6.根据权利要求5所述的一种用于道路货物运输的装货板车,其特征在于:所述内衬板(2)外侧开设有连接滑槽(21),所述内槽(11)内侧设有连接滑块(13),所述连接滑块(13)滑动连接于连接滑槽(21)内侧。