欢迎来到知嘟嘟! 联系电话:13336804447 卖家免费入驻,海量在线求购! 卖家免费入驻,海量在线求购!
知嘟嘟
我要发布
联系电话:13336804447
知嘟嘟经纪人
收藏
专利号: 2024218754360
专利类型:实用新型
专利状态:未下证
专利领域: 暂无
更新日期:2025-04-29
缴费截止日期: 暂无
价格&联系人
年费信息
委托购买

摘要:

权利要求书:

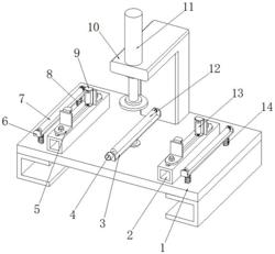
1.一种液压机校正省力装置,包括台板(1),其特征在于:所述台板(1)顶部的两侧设置有校正座(2),所述台板(1)顶部后端的中间位置处设置有架体(10),所述架体(10)顶部的前端穿设有校正液压缸(11),所述台板(1)顶部的两侧设置有第二槽体(6),所述第二槽体(6)内部的两端之间设置有传导辊(7),所述第二槽体(6)底部的两端设置有伸缩杆(8),所述伸缩杆(8)的外部设置有复位弹簧(14),所述台板(1)顶部的中间位置处设置有第一槽体(3),所述第一槽体(3)内部的两端之间设置有传送辊(12),所述第一槽体(3)的前端设置有驱动电机(4),所述台板(1)底端靠近中间的位置穿设有升降电缸(15),所述校正座(2)顶部的两端设置有限位组件。

2.根据权利要求1所述的一种液压机校正省力装置,其特征在于:所述传送辊(12)的前端贯穿第一槽体(3)内部的前端和驱动电机(4)的输出端固定连接,所述升降电缸(15)的顶端和第一槽体(3)底端的中间位置处固定连接。

3.根据权利要求1所述的一种液压机校正省力装置,其特征在于:所述校正座(2)在台板(1)顶部呈对称设置,且校正座(2)之间相互平行。

4.根据权利要求1所述的一种液压机校正省力装置,其特征在于:所述伸缩杆(8)的底端和台板(1)的顶部固定连接,所述复位弹簧(14)的顶端和第二槽体(6)的底端固定连接,所述复位弹簧(14)的底端和台板(1)的顶部固定连接。

5.根据权利要求1所述的一种液压机校正省力装置,其特征在于:所述限位组件包括定位座(5),所述定位座(5)设置在校正座(2)顶部的两端,所述校正座(2)内部的顶端设置有调整槽(16),所述定位座(5)的一端设置有连接槽(9),所述连接槽(9)内部的两端之间设置有限位辊(13),所述定位座(5)内部的底端设置有连接穿孔(19),所述调整槽(16)的内部和连接穿孔(19)之间贯穿有穿接螺杆(17),所述定位座(5)内侧底部的穿接螺杆(17)外设置有松紧螺套(18)。

6.根据权利要求5所述的一种液压机校正省力装置,其特征在于:所述定位座(5)呈“L”字形,所述穿接螺杆(17)直径小于调整槽(16)内部宽度,且穿接螺杆(17)可在调整槽(16)内移动。