欢迎来到知嘟嘟! 联系电话:13095918853 卖家免费入驻,海量在线求购! 卖家免费入驻,海量在线求购!
知嘟嘟
我要发布
联系电话:13095918853
知嘟嘟经纪人
收藏
专利号: 2024213338871
专利类型:实用新型
专利状态:未下证
专利领域: 暂无
更新日期:2025-03-31
缴费截止日期: 暂无
价格&联系人
年费信息
委托购买

摘要:

权利要求书:

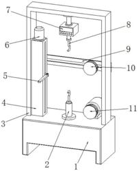
1.一种手拉葫芦试验台,包括底台(1),其特征在于:所述底台(1)的顶端设置有框体(3),所述框体(3)顶端的中间位置处设置有控制箱(7),所述底台(1)顶端的中间位置处设置有液压缸(2),所述液压缸(2)的顶端和控制箱(7)的底端设置有挂钩(8),所述底台(1)顶部一侧的后端设置有拉扯机构,所述框体(3)后端靠近中间的位置设置有固定板(9),所述固定板(9)的内部设置有调整槽(14),所述固定板(9)前端的一侧设置有张紧轮(10),所述张紧轮(10)的后端通过轴承活动连接有穿接螺杆(16),所述穿接螺杆(16)的后端贯穿调整槽(14)的内部,所述固定板(9)前端的穿接螺杆(16)外设置有锁紧螺套(15),所述穿接螺杆(16)的后端设置有限定板(13),所述框体(3)内部一侧的底部设置有升降挂载组件。

2.根据权利要求1所述的一种手拉葫芦试验台,其特征在于:所述张紧轮(10)平行于固定板(9),所述穿接螺杆(16)可在调整槽(14)内水平移动。

3.根据权利要求1所述的一种手拉葫芦试验台,其特征在于:所述拉扯机构包括驱动电机(12),所述驱动电机(12)设置在底台(1)顶部一侧的后端,所述驱动电机(12)的输出端设置有拉轮(11)。

4.根据权利要求3所述的一种手拉葫芦试验台,其特征在于:所述拉轮(11)和张紧轮(10)处于同一垂直面。

5.根据权利要求1所述的一种手拉葫芦试验台,其特征在于:所述升降挂载组件包括壳体(4),所述壳体(4)设置在框体(3)内部一侧的底部,所述壳体(4)内部两端之间的中间位置处活动连接有丝杆(17),所述壳体(4)的顶端设置有伺服电机(6),所述丝杆(17)的外部设置有丝套(20),所述壳体(4)内部的一侧设置有预留槽(18),所述丝套(20)的一侧设置有铰接座(19),所述壳体(4)的一侧设置有顶升挂板(5)。

6.根据权利要求5所述的一种手拉葫芦试验台,其特征在于:所述丝杆(17)的顶端贯穿壳体(4)内部的顶端和伺服电机(6)的输出端固定连接,所述铰接座(19)的一侧贯穿预留槽(18)和顶升挂板(5)的后端活动铰接。

我要求购
我不想找了,帮我找吧
您有专利需要变现?
我要出售
智能匹配需求,快速出售