欢迎来到知嘟嘟! 联系电话:13095918853 卖家免费入驻,海量在线求购! 卖家免费入驻,海量在线求购!
知嘟嘟
我要发布
联系电话:13095918853
知嘟嘟经纪人
收藏
专利号: 2024212484616
专利类型:实用新型
专利状态:未下证
专利领域: 暂无
更新日期:2025-04-21
缴费截止日期: 暂无
价格&联系人
年费信息
委托购买

摘要:

权利要求书:

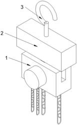
1.一种手拉葫芦的限制装置,包括手拉葫芦主体(1),其特征在于:所述手拉葫芦主体(1)上方设置有设备盒(2),所述设备盒(2)内限位设置有连接杆(4),所述连接杆(4)两侧均连接设置有一个齿板(5),所述设备盒(2)内且位于两个齿板(5)下方均设置有限制弹簧(6),两个所述限制弹簧(6)底端均设置有一个连接块(12),所述连接块(12)侧壁等距离设置有若干个卡块(11),所述设备盒(2)底壁且位于两个连接块(12)外侧均设置有一个连接座(7),所述连接座(7)侧壁等距离设置有若干个与卡块(11)限位卡合连接的L形卡槽(8),所述连接座(7)内底壁设置有若干个紧固弹簧(9),若干个所述紧固弹簧(9)一端且远离设备盒(2)表面的一端共同连接有一个环形挡块(10),且所述环形挡块(10)表面与卡块(11)活动抵住连接。

2.根据权利要求1所述的一种手拉葫芦的限制装置,其特征在于:两个所述连接块(12)表面均设置有一个对连接块(12)进行转动调节的转动钮(13)。

3.根据权利要求1所述的一种手拉葫芦的限制装置,其特征在于:所述设备盒(2)内且位于两个齿板(5)表面均啮合连接有一个从动齿轮(14),且两个所述从动齿轮(14)均限位转动连接在设备盒(2)内。

4.根据权利要求3所述的一种手拉葫芦的限制装置,其特征在于:所述设备盒(2)内且位于两个从动齿轮(14)一侧均啮合连接有一个限制齿轮(15),两个所述限制齿轮(15)表面均连接设置有一个限制板(16)。

5.根据权利要求1所述的一种手拉葫芦的限制装置,其特征在于:所述连接杆(4)底端与手拉葫芦主体(1)顶端连接设置。

6.根据权利要求1所述的一种手拉葫芦的限制装置,其特征在于:所述设备盒(2)顶端设置有固定挂钩(3)。

我要求购
我不想找了,帮我找吧
您有专利需要变现?
我要出售
智能匹配需求,快速出售