欢迎来到知嘟嘟! 联系电话:13095918853 卖家免费入驻,海量在线求购! 卖家免费入驻,海量在线求购!
知嘟嘟
我要发布
联系电话:13095918853
知嘟嘟经纪人
收藏
专利号: 2024209604881
专利类型:实用新型
专利状态:未下证
专利领域: 暂无
更新日期:2025-01-09
缴费截止日期: 暂无
价格&联系人
年费信息
委托购买

摘要:

权利要求书:

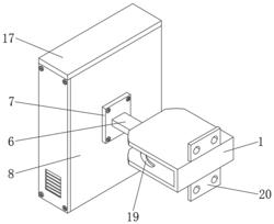
1.一种防护效果好的广告服务用显示屏,包括凹型架(1),其特征在于:所述凹型架(1)内腔的顶部和底部之间通过轴承转动连接有转轴(2),所述转轴(2)的外表面固定连接有半型齿轮(3),所述凹型架(1)内腔顶部的右侧固定安装有第一伺服电机(4),所述第一伺服电机(4)的输出端固定连接有驱动齿轮(5),所述驱动齿轮(5)和半型齿轮(3)啮合,所述半型齿轮(3)的左侧固定连接有横板(6),所述横板(6)的左侧固定连接有安装板(7),所述安装板(7)的左侧通过螺丝固定安装有防护箱(8);

所述防护箱(8)内腔底部的左侧固定连接有第二伺服电机(9),所述第二伺服电机(9)的输出端固定连接有螺杆(10),所述螺杆(10)的顶部通过轴承与防护箱(8)的连接处转动连接,所述螺杆(10)的外表面螺纹连接有矩形板(11),所述矩形板(11)的右侧固定安装有L型板(12),所述L型板(12)内腔的右侧固定安装有显示屏本体(13)。

2.根据权利要求1所述的一种防护效果好的广告服务用显示屏,其特征在于:所述防护箱(8)内腔右侧的前后位置均固定连接有滑轨(14),所述滑轨(14)的外表面与L型板(12)的连接处滑动连接。

3.根据权利要求1所述的一种防护效果好的广告服务用显示屏,其特征在于:所述矩形板(11)的左侧固定连接有导向板(15),所述防护箱(8)内腔的左侧开设有与导向板(15)配合使用的导向槽(16),所述导向板(15)的外表面与导向槽(16)的内表面滑动连接。

4.根据权利要求1所述的一种防护效果好的广告服务用显示屏,其特征在于:所述L型板(12)的顶部贯穿防护箱(8)且固定连接有防护盖(17),所述防护盖(17)的底部与防护箱(8)的连接处紧密贴合。

5.根据权利要求1所述的一种防护效果好的广告服务用显示屏,其特征在于:所述横板(6)的底部固定连接有支撑柱(18),所述凹型架(1)内腔的底部开设有与支撑柱(18)配合使用的弧形槽(19),所述支撑柱(18)的外表面与弧形槽(19)的内表面滑动连接。

6.根据权利要求1所述的一种防护效果好的广告服务用显示屏,其特征在于:所述凹型架(1)顶部和底部的右侧均固定连接有安装块(20),所述安装块(20)右侧的前后位置均开设有安装孔。

7.根据权利要求1所述的一种防护效果好的广告服务用显示屏,其特征在于:所述防护箱(8)的顶部开设有与L型板(12)配合使用的通口(21),所述L型板(12)位于通口(21)的内腔。

8.根据权利要求1所述的一种防护效果好的广告服务用显示屏,其特征在于:所述防护箱(8)的正面设置有检修板,且检修板通过螺丝与防护箱(8)的连接处固定连接。