欢迎来到知嘟嘟! 联系电话:13336804447 卖家免费入驻,海量在线求购! 卖家免费入驻,海量在线求购!
知嘟嘟
我要发布
联系电话:13336804447
知嘟嘟经纪人
收藏
专利号: 2020231023208
申请人: 济南卓色国展装饰工程有限公司
专利类型:实用新型
专利状态:已下证
专利领域: 教育;密码术;显示;广告;印鉴
更新日期:2024-02-29
缴费截止日期: 暂无
价格&联系人
年费信息
委托购买

摘要:

权利要求书:

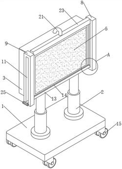
1.一种防护效果好的广告服务用显示屏,包括底座(1)和电动伸缩杆(2),其特征在于:所述底座(1)的上表面固定安装有电动伸缩杆(2),伸缩电动伸缩杆(2)的顶部固定安装有广告展示箱(3),所述广告展示箱(3)的正面设置有防护玻璃(4),所述广告展示箱(3)的内部设置有显示屏(5),所述广告展示箱(3)的内部位于显示屏(5)的一侧固定安装有离子风棒(6),所述广告展示箱(3)的内侧壁固定安装有散热风扇(7),所述广告展示箱(3)的一侧固定连接有第一固定杆(8),所述广告展示箱(3)的另一侧固定连接有第二固定杆(9),所述第一固定杆(8)的内部设置有滑槽(10),所述第二固定杆(9)的表面开设有空腔(11),所述滑槽(10)的内部设置有滑块(12),所述滑块(12)的表面固定连接有刷杆(13),所述刷杆(13)的表面固定连接有刷毛(14)。

2.根据权利要求1所述的一种防护效果好的广告服务用显示屏,其特征在于:所述底座(1)的下表面四角处均固定连接有滚轮(15),所述滚轮(15)的数量为四个。

3.根据权利要求1所述的一种防护效果好的广告服务用显示屏,其特征在于:所述广告展示箱(3)的一侧活动连接有箱门(16),所述箱门(16)的表面固定连接有把手(17)。

4.根据权利要求1所述的一种防护效果好的广告服务用显示屏,其特征在于:所述广告展示箱(3)的背面开设有散热口(18),所述散热口(18)的内部固定连接有防尘网(19)。

5.根据权利要求1所述的一种防护效果好的广告服务用显示屏,其特征在于:所述广告展示箱(3)的内部固定安装有储水箱(20),所述储水箱(20)的顶部固定连接有连接管(21),所述连接管(21)的表面固定安装有水泵(22)。

6.根据权利要求5所述的一种防护效果好的广告服务用显示屏,其特征在于:所述广告展示箱(3)的上表面固定安装有储水盒(23),所述储水盒(23)的下表面固定连接有出水口(24),所述连接管(21)的一端与储水盒(23)的表面固定连接。

7.根据权利要求1所述的一种防护效果好的广告服务用显示屏,其特征在于:所述刷杆(13)的端部固定连接有握柄(25),所述握柄(25)的表面设置有防滑纹,所述广告展示箱(3)的内壁固定连接有U型卡槽(26)。