欢迎来到知嘟嘟! 联系电话:13336804447 卖家免费入驻,海量在线求购! 卖家免费入驻,海量在线求购!
知嘟嘟
我要发布
联系电话:13336804447
知嘟嘟经纪人
收藏
专利号: 2024207444981
申请人: 唐纯
专利类型:实用新型
专利状态:已下证
专利领域: 基本上无切削的金属机械加工;金属冲压
更新日期:2025-06-23
缴费截止日期: 暂无
价格&联系人
年费信息
委托购买

摘要:

权利要求书:

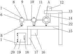
1.一种金属件折弯装置,包括底座(15),其特征在于:所述底座(15)的下端固定连接有第一支撑杆(17),所述第一支撑杆(17)的一侧设置有收纳箱(1),所述第一支撑杆(17)的另一侧固定连接有电机(16),所述电机(16)的一端延伸设置有第一转轴(11),所述第一转轴(11)的外壁固定连接有套筒(10),所述套筒(10)的外壁固定连接有第一连接杆(9),所述第一连接杆(9)的一端固定连接有固定块(6),所述固定块(6)的上端设置有螺栓定位销(7),所述底座(15)的另一端固定连接有第二支撑杆(22),所述第二支撑杆(22)的上端固定连接有支撑台(13),所述支撑台(13)的上端固定连接有液压缸(12),所述液压缸(12)的一端设置有液压杆(14),所述液压缸(12)与支撑台(13)贯穿有液压杆(14)。

2.根据权利要求1所述的一种金属件折弯装置,其特征在于:所述固定块(6)的下端设置有第二连接杆(5),所述第二连接杆(5)的下端固定连接有支撑架(4)。

3.根据权利要求1所述的一种金属件折弯装置,其特征在于:所述螺栓定位销(7)贯穿固定块(6),所述螺栓定位销(7)的上端设置有销盖(8)。

4.根据权利要求1所述的一种金属件折弯装置,其特征在于:所述固定块(6)的内部设置有固定槽(21)。

5.根据权利要求1所述的一种金属件折弯装置,其特征在于:所述收纳箱(1)的一侧设置有箱门(19),所述箱门(19)与收纳箱(1)通过铰链(20)转动连接,所述箱门(19)的一侧设置有把手(18)。

6.根据权利要求2所述的一种金属件折弯装置,其特征在于:所述支撑架(4)的中部固定连接有第二转轴(3),所述第二转轴(3)的外壁转动连接有滑轮(2)。