欢迎来到知嘟嘟! 联系电话:13336804447 卖家免费入驻,海量在线求购! 卖家免费入驻,海量在线求购!
知嘟嘟
我要发布
联系电话:13336804447
知嘟嘟经纪人
收藏
专利号: 2024207201833
专利类型:实用新型
专利状态:未下证
专利领域: 暂无
更新日期:2025-04-07
缴费截止日期: 暂无
价格&联系人
年费信息
委托购买

摘要:

权利要求书:

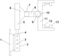
1.一种LED显示屏悬挂支撑装置,其特征在于:包括悬挂座(1)、连杆(7)和悬挂框(11),所述悬挂座(1)上设置有支撑套杆(2),所述悬挂座(1)与所述支撑套杆(2)之间设置有缓冲组件,所述支撑套杆(2)上设置有滑杆(4),所述滑杆(4)上设置有支撑板(5),所述连杆(7)一端设置有吸盘(6),所述吸盘(6)与所述支撑板(5)抵接,所述连杆(7)另一端设置有磁性吸附球(9),所述悬挂框(11)背面设置有与所述磁性吸附球(9)配合的磁性吸附套(10),所述悬挂框(11)上设置有用于LED显示屏固定的夹紧机构。

2.根据权利要求1所述的一种LED显示屏悬挂支撑装置,其特征在于:所述缓冲组件包括设置在所述悬挂座(1)内的滑槽(21),所述滑槽(21)内固定设置有压缩弹簧(22),所述压缩弹簧(22)上设置有滑块(20),所述滑块(20)上设置有滑轴(19),所述滑轴(19)与所述支撑套杆(2)固定连接。

3.根据权利要求1所述的一种LED显示屏悬挂支撑装置,其特征在于:所述夹紧机构包括安装板(12)和防脱限位块(13),所述安装板(12)通过安装孔(18)固定在所述悬挂框(11)上,所述防脱限位块(13)固定在所述悬挂框(11)上,所述安装板(12)上设置有套筒(16),所述套筒(16)内设置有支撑杆(15),所述支撑杆(15)与所述防脱限位块(13)连接,所述支撑杆(15)上滑动设置有夹块(14),所述支撑杆(15)外环设有挤压弹簧(17),所述挤压弹簧(17)两端分别与所述夹块(14)和所述安装板(12)连接。

4.根据权利要求1所述的一种LED显示屏悬挂支撑装置,其特征在于:所述连杆(7)内设置有微型气压泵(8),所述微型气压泵(8)的输出端与所述吸盘(6)连接。

5.根据权利要求1所述的一种LED显示屏悬挂支撑装置,其特征在于:所述支撑套杆(2)与所述滑杆(4)通过锁紧螺母固定连接,所述支撑套杆(2)上设置有若干与所述锁紧螺母配合的锁紧螺孔(3)。

6.根据权利要求1所述的一种LED显示屏悬挂支撑装置,其特征在于:所述悬挂座(1)上设置有固定脚(23)。

我要求购
我不想找了,帮我找吧
您有专利需要变现?
我要出售
智能匹配需求,快速出售