欢迎来到知嘟嘟! 联系电话:13336804447 卖家免费入驻,海量在线求购! 卖家免费入驻,海量在线求购!
知嘟嘟
我要发布
联系电话:13336804447
知嘟嘟经纪人
收藏
专利号: 2023218308469
申请人: 浙江卓超科技集团有限公司
专利类型:实用新型
专利状态:已下证
专利领域: 工程元件或部件;为产生和保持机器或设备的有效运行的一般措施;一般绝热
更新日期:2025-06-19
缴费截止日期: 暂无
价格&联系人
年费信息
委托购买

摘要:

权利要求书:

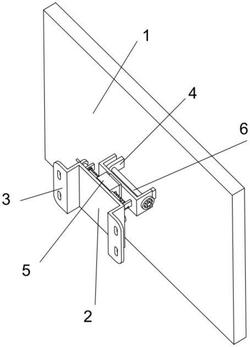
1.一种LED壁挂显示屏,包括LED显示屏(1),其特征在于:还包括固定于墙体上的壁挂板(2),所述壁挂板(2)呈“凹”字形设置,且所述壁挂板(2)的两侧均设置有辅助板(3),所述LED显示屏(1)的后侧设置有两个安装座(4),所述壁挂板(2)上设置有横向角度调节机构(5),所述横向角度调节机构(5)上设置有竖向角度调节结构(6),所述竖向角度调节结构(6)连接于两个安装座(4);

所述横向角度调节机构(5)包括设置在壁挂板(2)上端的两个支座,两个所述支座之间转动连接有丝杆(501),所述丝杆(501)上螺纹套接有移动块(502),所述移动块(502)上设置有连接板(503),所述连接板(503)上转动连接有转动杆(504),所述转动杆(504)的转动中心上同心固定有转动座(505),所述竖向角度调节结构(6)固定连接在转动座(505)上,所述转动杆(504)的另一端设置有滑销(506),所述壁挂板(2)的下端设置有供滑销(506)滑动的滑轨(507),所述滑轨(507)呈V型设置;

所述竖向角度调节结构(6)包括设置在转动座(505)上的U型架(601),所述U型架(601)上转动连接有转轴(602),两个所述安装座(4)分别位于U型架(601)的内侧且通过转轴(602)与U型架(601)转动连接,所述转轴(602)上固定套设有调节盘(603),所述调节盘(603)上环形阵列分布有若干锁止孔(604),所述U型架(601)上开设有相适配的定位孔,所述定位孔内螺纹连接有贯穿锁止孔(604)的锁止螺栓(605)。

2.根据权利要求1所述的一种LED壁挂显示屏,其特征在于:所述壁挂板(2)上设置有两个导向块(7),所述移动块(502)靠近壁挂板(2)的一侧开设有供导向块(7)滑动的滑槽。

3.根据权利要求1所述的一种LED壁挂显示屏,其特征在于:所述U型架(601)的内壁在安装座(4)的两侧均设置有挡块(8),所述挡块(8)用于抵触安装座(4)。

4.根据权利要求3所述的一种LED壁挂显示屏,其特征在于:所述挡块(8)上套设有橡胶垫。

5.根据权利要求1所述的一种LED壁挂显示屏,其特征在于:所述滑轨(507)的夹角为

150~170度。

6.根据权利要求1所述的一种LED壁挂显示屏,其特征在于:所述滑轨(507)的两端和转折处均设置有弧面。

7.根据权利要求1所述的一种LED壁挂显示屏,其特征在于:所述丝杆(501)的一端设置有转动手柄。