欢迎来到知嘟嘟! 联系电话:13336804447 卖家免费入驻,海量在线求购! 卖家免费入驻,海量在线求购!
知嘟嘟
我要发布
联系电话:13336804447
知嘟嘟经纪人
收藏
专利号: 2024206833677
专利类型:实用新型
专利状态:未下证
专利领域: 暂无
更新日期:2025-01-31
缴费截止日期: 暂无
价格&联系人
年费信息
委托购买

摘要:

权利要求书:

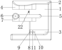
1.一种中草药根部清除装置,其特征在于:包括:

清除安装箱(1);

顶部处理仓(4),顶部处理仓(4)安装于清除安装箱(1)的内部;

滑动放置仓(7),滑动放置仓(7)安装于清除安装箱(1)的一侧且位于顶部处理仓(4)的下方;

底部安装仓(3),底部安装仓(3)安装于清除安装箱(1)的内部且位于滑动放置仓(7)的下方,所述底部安装仓(3)的内部滑动连接有延伸至外侧的切刀(15),所述底部安装仓(3)的内部转动连接有转动齿轮(12),所述转动齿轮(12)的一侧滑动连接有滑动齿条(13),所述滑动齿条(13)与转动齿轮(12)啮合连接,所述滑动齿条(13)远离转动齿轮(12)的一侧固定连接有限位滑块(20),所述限位滑块(20)的一侧与滑动放置仓(7)固定连接;

限位槽(10),限位槽(10)安装于底部安装仓(3)的外侧。

2.根据权利要求1所述的中草药根部清除装置,其特征在于:所述顶部处理仓(4)包括温度控制盒(42)和放置筛板(43),所述顶部处理仓(4)的底部开设有顶部安装腔(41),所述顶部安装腔(41)的内部安装有放置筛板(43),所述顶部安装腔(41)的内部且远离放置筛板(43)的一侧固定连接有温度控制盒(42),所述温度控制盒(42)的一侧固定连接有等距分布的出风管道(46)。

3.根据权利要求1所述的中草药根部清除装置,其特征在于:所述滑动放置仓(7)的内部安装有交错分布的放置板(21),所述底部安装仓(3)的内壁开设有滑槽(17),所述滑槽(17)的内部滑动连接有延伸至底部安装仓(3)外侧的滑板(8),所述滑板(8)的外侧固定连接有便携把手(9)。

4.根据权利要求1所述的中草药根部清除装置,其特征在于:所述清除安装箱(1)的内部且位于滑动齿条(13)的下方固定连接有缓冲弹簧(18),所述缓冲弹簧(18)的内部安装有阻尼减震器(19),所述清除安装箱(1)的外侧安装有转动杆(5),所述转动杆(5)的一端延伸至清除安装箱(1)内部且与转动齿轮(12)固定连接,所述转动杆(5)的另一端固定连接有转动摇把(6)。

5.根据权利要求1所述的中草药根部清除装置,其特征在于:所述底部安装仓(3)的内部且位于切刀(15)的下方固定连接有固定板(16),所述限位槽(10)的外侧滑动连接有配合切刀(15)使用的拨块(11),所述拨块(11)的一侧固定连接有连接杆(14),所述连接杆(14)的另一端与切刀(15)固定连接,所述清除安装箱(1)的外侧安装有安装外壳(2)。

6.根据权利要求2所述的中草药根部清除装置,其特征在于:所述清除安装箱(1)的一侧且位于顶部处理仓(4)与滑动放置仓(7)之间安装有配合滑动齿条(13)使用的限位插杆(22),所述放置筛板(43)的内部滑动连接有抽拉板(44)。

7.根据权利要求2所述的中草药根部清除装置,其特征在于:所述温度控制盒(42)的内部安装有电热丝和风扇,所述出风管道(46)的外侧均固定连接有控制阀门(47)。

8.根据权利要求7所述的中草药根部清除装置,其特征在于:所述温度控制盒(42)的一侧固定连接有无线信号收发器(45),所述无线信号收发器(45)的内部固定连接有主控板,所述主控板的外侧固定连接有控制芯片,所述电热丝、风扇、无线信号收发器(45)和控制阀门(47)均与控制芯片电性连接。