欢迎来到知嘟嘟! 联系电话:13336804447 卖家免费入驻,海量在线求购! 卖家免费入驻,海量在线求购!
知嘟嘟
我要发布
联系电话:13336804447
知嘟嘟经纪人
收藏
专利号: 2020109829877
申请人: 秦皇岛赤兔科技开发有限公司
专利类型:发明专利
专利状态:已下证
专利领域: 农业;林业;畜牧业;狩猎;诱捕;捕鱼
更新日期:2024-02-29
缴费截止日期: 暂无
价格&联系人
年费信息
委托购买

摘要:

权利要求书:

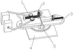
1.一种拔草除根装置,包括执行模块(1)、夹紧模块(2)、抬起模块(3)、转向模块(4)和连接柱(5),其特征在于:所述转向模块(4)的上方设置有抬起模块(3),抬起模块(3)的上方通过连接柱(5)活动连接有执行模块(1),执行模块(1)上表面的右侧设置有夹紧模块(2),所述执行模块(1)的左端面为圆弧状;

所述的抬起模块(3)还包括抬起面板(301)、推动滑杆(302)、连接块(303)、螺纹齿轮(304)、丝杠(305)、后侧抬起齿轮支架(306)、抬起电机支架(307)、抬起电机(308)、抬起齿轮(309)、前侧抬起齿轮支架(310)和支撑杆(311);

所述抬起面板(301)与转向执行齿轮(402)固定连接,抬起面板(301)上表面的中部开设有滑槽,滑槽内滑动连接有推动滑杆(302),推动滑杆(302)的右端面通过连接块(303)固定连接有丝杠(305),所述丝杠(305)外表面的左端螺纹连接有螺纹齿轮(304),螺纹齿轮(304)的外表面齿轮连接有抬起齿轮(309),所述螺纹齿轮(304)和抬起齿轮(309)通过前侧抬起齿轮支架(310)和后侧抬起齿轮支架(306)与抬起面板(301)转动连接,所述后侧抬起齿轮支架(306)的右方设置有抬起电机(308),抬起电机(308)与抬起面板(301)通过抬起电机支架(307)固定连接,并且所述抬起电机(308)的输出轴与抬起齿轮(309)固定连接。

2.根据权利要求1所述的一种拔草除根装置,其特征在于:所述的转向模块(4)还包括转向面板(401)、转向执行齿轮(402)、转向主动齿轮(403)和转向电机(404);

所述转向面板(401)的上表面转动连接有转向执行齿轮(402),转向执行齿轮(402)的左侧面齿轮连接有转向主动齿轮(403),转向主动齿轮(403)的下方设置有转向电机(404),转向电机(404)与转向面板(401)的下表面固定连接,并且所述转向电机(404)的输出轴与转向主动齿轮(403)固定连接。

3.根据权利要求1所述的一种拔草除根装置,其特征在于:所述的执行模块(1)还包括执行台面(101)、右端执行蜗轮(102)、执行蜗杆(103)、右端执行力臂杆(104)、右端执行夹块(105)、左端执行夹块(106)、左端执行力臂杆(107)、左端执行蜗轮(108)、执行蜗杆前支架(109)和执行蜗杆后支架(110);

所述执行台面(101)的两侧通过连接柱(5)与抬起面板(301)活动连接,所述执行台面(101)上表面的中部通过执行蜗杆前支架(109)和执行蜗杆后支架(110)转动连接有执行蜗杆(103),执行蜗杆(103)外表面的前后两侧分别齿轮连接有左端执行蜗轮(108)和右端执行蜗轮(102),所述左端执行蜗轮(108)和右端执行蜗轮(102)的下方分别固定连接有左端执行力臂杆(107)和右端执行力臂杆(104),并且所述右端执行蜗轮(102)和右端执行力臂杆(104)与左端执行蜗轮(108)和左端执行力臂杆(107)均与执行台面(101)转动连接,所述左端执行力臂杆(107)和右端执行力臂杆(104)的左端分别活动连接有左端执行夹块(106)和右端执行夹块(105),所述执行台面(101)的下表面与推动滑杆(302)的左端通过支撑杆(311)活动连接。

4.根据权利要求1所述的一种拔草除根装置,其特征在于:所述的夹紧模块(2)还包括夹紧支架板(201)、夹紧电机支架(202)、夹紧电机(203)、夹紧主动齿轮(204)、夹紧执行齿轮(205)、夹紧过程齿轮(206)和夹紧从动齿轮(207);

所述夹紧支架板(201)与执行台面(101)的上表面固定连接,夹紧支架板(201)左侧面的中心转动连接有夹紧过程齿轮(206),夹紧过程齿轮(206)的正面固定连接有夹紧从动齿轮(207),夹紧从动齿轮(207)的外表面齿轮连接有夹紧执行齿轮(205),夹紧执行齿轮(205)与执行蜗杆(103)的右端固定连接,所述夹紧过程齿轮(206)的外表面齿轮连接有夹紧主动齿轮(204),所述夹紧支架板(201)的右侧面通过夹紧电机支架(202)固定连接有夹紧电机(203),夹紧电机(203)的输出轴与夹紧主动齿轮(204)固定连接。