欢迎来到知嘟嘟! 联系电话:13336804447 卖家免费入驻,海量在线求购! 卖家免费入驻,海量在线求购!
知嘟嘟
我要发布
联系电话:13336804447
知嘟嘟经纪人
收藏
专利号: 2024204760065
专利类型:实用新型
专利状态:未下证
专利领域: 暂无
更新日期:2025-01-09
缴费截止日期: 暂无
价格&联系人
年费信息
委托购买

摘要:

权利要求书:

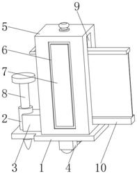
1.一种建筑工程用防护栏,包括固定板(1),其特征在于:所述固定板(1)的上表面固定连接有定位箱(5),所述固定板(1)的上表面固定连通有限位筒(2),所述限位筒(2)的内部设有插地钉(8),所述固定板(1)的底面安装有滚轮(4),所述定位箱(5)的右侧面开设有定位槽(9),所述定位槽(9)的内部设有防护栏本体(10),所述定位箱(5)的上表面固定连通有滑动筒(12),所述滑动筒(12)的内部设有提拉杆(13),所述定位箱(5)的内顶壁固定连接有弹簧(14),所述弹簧(14)的底端固定连接有卡接框(15),所述卡接框(15)的内侧壁与防护栏本体(10)的上表面相接触,所述定位箱(5)的内侧壁固定连接有定位板(16),所述卡接框(15)的内底壁固定连接有两组定位插钉(19),且定位插钉(19)的底端贯穿防护栏本体(10)并延伸至防护栏本体(10)的下方。

2.根据权利要求1所述的一种建筑工程用防护栏,其特征在于:所述固定板(1)的上表面固定连接有加固凹块(3),所述加固凹块(3)的内侧壁与限位筒(2)的外表面固定连接。

3.根据权利要求1所述的一种建筑工程用防护栏,其特征在于:所述定位箱(5)的正面和定位箱(5)的背面均开设有警示槽(6),每个所述警示槽(6)的内部均固定连接有反光警示贴(7)。

4.根据权利要求1所述的一种建筑工程用防护栏,其特征在于:所述定位箱(5)的左侧面固定连接有推把(11),所述推把(11)的外表面开设有防滑纹。

5.根据权利要求1所述的一种建筑工程用防护栏,其特征在于:所述定位箱(5)的内侧壁固定连接有两个稳固条(17),两个所述稳固条(17)相互靠近的一侧面分别与定位板(16)的正面和定位板(16)的背面固定连接。

6.根据权利要求1所述的一种建筑工程用防护栏,其特征在于:所述定位箱(5)的内底壁固定连接有垫板(18),所述垫板(18)的上表面与防护栏本体(10)的底面相接触。

我要求购
我不想找了,帮我找吧
您有专利需要变现?
我要出售
智能匹配需求,快速出售