欢迎来到知嘟嘟! 联系电话:13336804447 卖家免费入驻,海量在线求购! 卖家免费入驻,海量在线求购!
知嘟嘟
我要发布
联系电话:13336804447
知嘟嘟经纪人
收藏
专利号: 2023229892001
申请人: 江苏皓福建筑工程有限公司
专利类型:实用新型
专利状态:已下证
专利领域: 建筑物
更新日期:2026-03-02
缴费截止日期: 暂无
价格&联系人
年费信息
委托购买

摘要:

权利要求书:

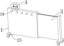
1.一种建筑工程用防护栏,包括横板(1),其特征在于:所述横板(1)的右侧开设有第一矩形槽(2),所述第一矩形槽(2)的内壁滑动连接有矩形板(3),所述矩形板(3)的顶部开设有通孔(4),所述通孔(4)的顶部为开口设置,所述通孔(4)的底部内壁固定连接有梯形块(5),所述横板(1)的上方设有连接板(13),锁户连接板(13)的底部固定连接有方杆(6),所述横板(1)滑动套设在方杆(6)的外侧,所述方杆(6)的底端延伸至第一矩形槽(2)内,所述方杆(6)的底端嵌装有滚珠(7),所述滚珠(7)与梯形块(5)相配合,所述矩形板(3)的左侧开设有第二矩形槽(8),所述第二矩形槽(8)的右侧内壁上固定连接有横杆(9),所述横杆(9)的左端固定连接有矩形杆(10),所述第一矩形槽(2)的左侧内壁上固定连接有两个圆杆(11),所述矩形杆(10)滑动套设在圆杆(11)的外侧,所述矩形杆(10)的左侧和第一矩形槽(2)的右侧内壁之间固定连接有两个第一弹簧(12),所述第一弹簧(12)滑动套设在对应的圆杆(11)的外侧。

2.根据权利要求1所述的一种建筑工程用防护栏,其特征在于:所述横板(1)的顶部固定连接有两个第一竖杆(14),所述连接板(13)的底部固定连接有两个第二竖杆(15)。

3.根据权利要求2所述的一种建筑工程用防护栏,其特征在于:所述第一竖杆(14)滑动套设在对应的第二竖杆(15)的外侧,所述第一竖杆(14)和连接板(13)之间固定连接有第二弹簧(16),所述第二弹簧(16)活动套设在对应的第二竖杆(15)的外侧。

4.根据权利要求3所述的一种建筑工程用防护栏,其特征在于:所述连接板(13)的顶部固定连接有握把(17),所述横板(1)的前侧安装有多个警示灯(18)。

5.根据权利要求4所述的一种建筑工程用防护栏,其特征在于:所述横板(1)的后侧安装有光伏板(19),所述横板(1)的后侧固定连接有支撑杆(20),所述支撑杆(20)和光伏板(19)之间固定连接。

6.根据权利要求5所述的一种建筑工程用防护栏,其特征在于:所述横板(1)的后侧安装有蓄电池(21),所述蓄电池(21)通过传导线和光伏板(19)电性连接,所述蓄电池(21)通过传导线和警示灯(18)电性连接。

7.根据权利要求6所述的一种建筑工程用防护栏,其特征在于:所述矩形板(3)的右侧固定连接有T形板(22),所述横板(1)的两侧分别固定连接有矩形块(23),所述T形板(22)和矩形块(23)的底部均转动安装有滚轮(24)。

我要求购
我不想找了,帮我找吧
您有专利需要变现?
我要出售
智能匹配需求,快速出售