欢迎来到知嘟嘟! 联系电话:13336804447 卖家免费入驻,海量在线求购! 卖家免费入驻,海量在线求购!
知嘟嘟
我要发布
联系电话:13336804447
知嘟嘟经纪人
收藏
专利号: 2024204425226
专利类型:其他
专利状态:未下证
专利领域: 暂无
更新日期:2024-11-05
缴费截止日期: 暂无
价格&联系人
年费信息
委托购买

摘要:

权利要求书:

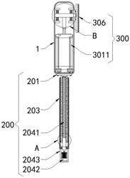
1.一种手持式振动毛刷,包括驱动箱(1),其特征在于:所述驱动箱(1)的一侧上安装有调节伸缩机构(200)以及安装在所述驱动箱(1)内的振动清洁机构(300),且所述调节伸缩机构(200)是用以调节振动清洁机构(300)清洁时的长度,所述振动清洁机构(300)是用以自动化清理污渍;

所述调节伸缩机构(200)包括固定安装在所述驱动箱(1)一侧上的安装板(201),所述安装板(201)远离所述驱动箱(1)的一侧固定连接有螺纹套筒(202),所述螺纹套筒(202)的外侧滑动连接有手持筒(203),所述螺纹套筒(202)的内侧安装有调节驱动组件,所述调节驱动组件通过所述螺纹套筒(202)连接到所述驱动箱(1)上,在所述调节驱动组件的驱动下带动所述螺纹套筒(202)在所述手持筒(203)内伸缩移动,以带动所述驱动箱(1)进行移动,所述螺纹套筒(202)的外侧固定安装有呈镜像对称的两个限位块(205),以限制所述螺纹套筒(202)在所述手持筒(203)内的移动距离;

所述振动清洁机构(300)包括安装在所述驱动箱(1)内的清洁驱动组件,所述清洁驱动组件远离所述调节伸缩机构(200)的一侧安装有移动调节块(302),所述移动调节块(302)的内侧安装有呈镜像对称的两组弹性防护组件,且所述弹性防护组件安装在所述驱动箱(1)内,所述移动调节块(302)的一侧固定连接有连接块(304),所述连接块(304)远离所述移动调节块(302)的一侧固定连接有毛刷板(306);所述清洁驱动组件通过所述移动调节块(302)连接到所述连接块(304)上所连接的所述毛刷板(306),在所述清洁驱动组件的驱动下带动所述毛刷板(306)进行往复运动。

2.根据权利要求1所述的手持式振动毛刷,其特征在于:所述调节驱动组件包括螺纹杆(2041)、伺服电机(2042)和防护箱(2043);所述螺纹杆(2041)的外侧与所述螺纹套筒(202)的内侧螺纹连接,且所述螺纹杆(2041)远离所述驱动箱(1)的一端贯穿所述手持筒(203)并固定连接在所述伺服电机(2042)的输出轴,所述伺服电机(2042)的一侧固定安装在所述防护箱(2043)的内壁上,且所述防护箱(2043)固定安装在所述手持筒(203)远离所述驱动箱(1)的一侧上,所述螺纹杆(2041)在所述伺服电机(2042)的驱动下旋转。

3.根据权利要求1所述的手持式振动毛刷,其特征在于:所述手持筒(203)的内侧壁上开设有供所述限位块(205)贴合滑动的限位槽(206)。

4.根据权利要求2所述的手持式振动毛刷,其特征在于:所述螺纹杆(2041)的外侧通过轴承与所述手持筒(203)的内侧壁转动连接。

5.根据权利要求1所述的手持式振动毛刷,其特征在于:所述清洁驱动组件包括电动气缸(3011)和支杆(3012);所述电动气缸(3011)的一侧固定安装在所述驱动箱(1)的内侧壁上,所述支杆(3012)的一端固定连接在所述电动气缸(3011)的活塞杆上,另一端固定连接在所述移动调节块(302)靠近所述调节伸缩机构(200)的一侧上,并在所述电动气缸(3011)的驱动下进行往复移动。

6.根据权利要求1所述的手持式振动毛刷,其特征在于:所述弹性防护组件包括滑动杆(3031)、两个支撑块(3032)和两个复位弹簧(3033);所述滑动杆(3031)的外侧滑动连接在所述移动调节块(302)的内侧,且两个所述支撑块(3032)相对一侧分别与所述滑动杆(3031)的两端固定连接,所述滑动杆(3031)的外侧套接有以所述移动调节块(302)的中心为轴心呈镜像对称的两个复位弹簧(3033)。

7.根据权利要求1所述的手持式振动毛刷,其特征在于:所述驱动箱(1)的一侧开设有供所述连接块(304)贴合滑动的调节孔(305)。