欢迎来到知嘟嘟! 联系电话:13336804447 卖家免费入驻,海量在线求购! 卖家免费入驻,海量在线求购!
知嘟嘟
我要发布
联系电话:13336804447
知嘟嘟经纪人
收藏
专利号: 2024203252520
专利类型:其他
专利状态:未下证
专利领域: 暂无
更新日期:2024-10-31
缴费截止日期: 暂无
价格&联系人
年费信息
委托购买

摘要:

权利要求书:

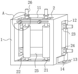
1.一种电缆走线辅助机构,包括牵引框(1),其特征在于:所述牵引框(1)两侧前端均开设有第一限位槽(11),所述牵引框(1)另两侧后端均开设有第二限位槽(12),相互对应的所述第一限位槽(11)与第二限位槽(12)内均活动安装有辅助走线机构;

所述辅助走线机构包括在两组所述第一限位槽(11)内两侧均滑动安装的第一限位块(2)、在每组所述第一限位块(2)中部均固定安装的第一连接杆(21)、在相互对应的两组所述第一连接杆(21)之间均转动安装的第一辅助辊(22)、在两组所述第二限位槽(12)内两侧均滑动安装的第二限位块(23)、在每组所述第二限位块(23)中部均固定安装的第二连接杆(24)以及在相互对应的两组所述第二连接杆(24)之间均转动安装的第二辅助辊(25)。

2.根据权利要求1所述的一种电缆走线辅助机构,其特征在于:两组所述第一辅助辊(22)呈竖向辅助辊,两组所述第二辅助辊(25)呈横向辅助辊。

3.根据权利要求1所述的一种电缆走线辅助机构,其特征在于:每组所述第一连接杆(21)、第二连接杆(24)一侧均固定安装有手柄(26)。

4.根据权利要求1所述的一种电缆走线辅助机构,其特征在于:位于一侧所述第一限位槽(11)与第二限位槽(12)均开设有移动槽(3),两组所述移动槽(3)内均活动安装有辅助辊定位机构。

5.根据权利要求4所述的一种电缆走线辅助机构,其特征在于:所述辅助辊定位机构在所述移动槽(3)内两侧均滑动安装的螺杆(31)以及在每组所述螺杆(31)外壁均螺纹连接的定位螺母(32),每组所述螺杆(31)分别与相互对应的所述第一限位块(2)与第二限位块(23)外壁固定安装。

6.根据权利要求1所述的一种电缆走线辅助机构,其特征在于:所述牵引框(1)两侧底部均焊接有定位件(13),两组所述定位件(13)中部均开设有定位孔(14)。