欢迎来到知嘟嘟! 联系电话:13336804447 卖家免费入驻,海量在线求购! 卖家免费入驻,海量在线求购!
知嘟嘟
我要发布
联系电话:13336804447
知嘟嘟经纪人
收藏
专利号: 2024203188331
申请人: 安庆新联科信息技术有限公司
专利类型:实用新型
专利状态:已下证
专利领域: 农业;林业;畜牧业;狩猎;诱捕;捕鱼
更新日期:2025-02-26
缴费截止日期: 暂无
价格&联系人
年费信息
委托购买

摘要:

权利要求书:

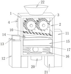
1.一种瓜蒌深加工用破碎取籽设备,其特征在于,包括:

外箱体(1),所述外箱体(1)的内部设置有内腔(2),所述内腔(2)的侧表面设置有滑动槽(3),所述外箱体(1)的外表面固定连接有固定块(4),所述固定块(4)的内部固定连接有双向轴电机(5),所述双向轴电机(5)两侧的输出端固定连接有螺纹杆(6),所述螺纹杆(6)的侧表面螺纹连接有滑动块(7);

所述滑动块(7)的侧表面固定连接有第一电机(8),所述滑动块(7)的外表面与固定块(4)滑动连接,所述第一电机(8)的输出端固定连接有破碎辊(9),所述破碎辊(9)设置有两组;

所述外箱体(1)的内部设置有过滤板(10),所述过滤板(10)的一侧固定连接有排污仓(11),所述外箱体(1)的侧表面固定连接有水箱(12),所述水箱(12)的上表面固定连接有吸水泵(13),所述吸水泵(13)的输出端设置有喷头(14),所述过滤板(10)的下侧设置有收集盒(15),所述外箱体(1)的底内壁固定连接有弹簧(16),所述弹簧(16)的顶端固定连接有活动板(17)。

2.根据权利要求1所述的一种瓜蒌深加工用破碎取籽设备,其特征在于:所述活动板(17)的外表面与外箱体(1)滑动连接,所述活动板(17)的上表面与收集盒(15)接触,所述收集盒(15)的外表面与外箱体(1)滑动连接。

3.根据权利要求1所述的一种瓜蒌深加工用破碎取籽设备,其特征在于:所述外箱体(1)的外表面固定连接有第二电机(18),所述第二电机(18)的输出端固定连接有偏心轮(19)。

4.根据权利要求3所述的一种瓜蒌深加工用破碎取籽设备,其特征在于:所述偏心轮(19)的侧表面与活动板(17)活动连接,所述外箱体(1)的底端固定连接有排水口(20)。

5.根据权利要求1所述的一种瓜蒌深加工用破碎取籽设备,其特征在于:所述外箱体(1)的下表面固定连接有支撑腿(21)。

6.根据权利要求1所述的一种瓜蒌深加工用破碎取籽设备,其特征在于:所述外箱体(1)的上表面固定连接有进料口(22),所述外箱体(1)的外表面设置有活动门(23)。

7.根据权利要求1所述的一种瓜蒌深加工用破碎取籽设备,其特征在于:所述双向轴电机(5)、第一电机(8)、吸水泵(13)、第二电机(18)皆与外部电源连接。