欢迎来到知嘟嘟! 联系电话:13336804447 卖家免费入驻,海量在线求购! 卖家免费入驻,海量在线求购!
知嘟嘟
我要发布
联系电话:13336804447
知嘟嘟经纪人
收藏
专利号: 201910626442X
申请人: 安徽科技学院
专利类型:发明专利
专利状态:已下证
专利领域: 焙烤;制作或处理面团的设备;焙烤用面团〔1,8〕
更新日期:2024-07-18
缴费截止日期: 暂无
价格&联系人
年费信息
委托购买

摘要:

权利要求书:

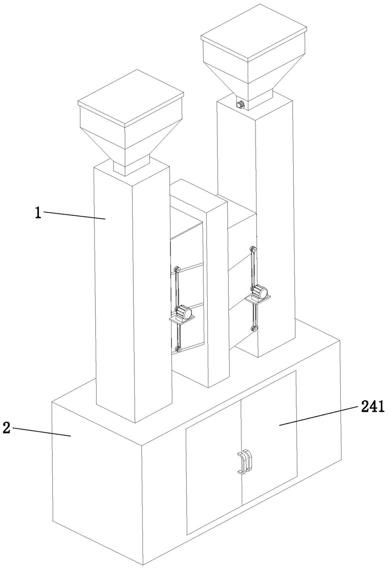
1.一种瓜蒌籽饼干的调粉设备,其特征在于,包括粉料供给装置(1)和混合装置(2),所述粉料供给装置(1)安装于混合装置(2)的顶部,所述粉料供给装置(1)包括第一供给组件(11)、第二供给组件(12)和集粉箱(13),所述第一供给组件(11)和第二供给组件(12)对称设置且集粉箱(13)位于第一供给组件(11)和第二供给组件(12)之间,所述第一供给组件(11)和第二供给组件(12)结构相同且第一供给组件(11)和第二供给组件(12)交错设置,第一供给组件(11)和第二供给组件(12)相邻的一端均能够延伸至集粉箱(13)内。

2.根据权利要求1所述的一种瓜蒌籽饼干的调粉设备,其特征在于,所述第一供给组件(11)包括给料件(14)、储料件(15)和过料管道(111),所述过料管道(111)竖直设置且储料件(15)安装于过料管道(111)的顶部,所述给料件(14)安装于过料管道(111)的下段,所述过料管道(111)内设有筛选网(112)和定位板(113),所述筛选网(112)位于定位板(113)内且筛选网(112)的侧壁上设有与定位板(113)固定连接的弹簧,所述过料管道(111)的内侧壁上设有供定位板(113)放置的凸棱(114),定位板(113)的正上方设有呈漏斗状的束料板(115),所述束料板(115)与过料管道(111)固定连接。

3.根据权利要求2所述的一种瓜蒌籽饼干的调粉设备,其特征在于,所述储料件(15)包括储料箱(151)、控料方管(152)、控料板(153)和控料电机(154),所述控料方管(152)竖直设置且控料方管(152)安装于过料管道(111)的顶部,所述过料管道(111)对应控料方管(152)开设有落料槽,所述储料箱(151)呈漏斗状且储料箱(151)的底部与控料方管(152)固定连接形成一体,控料板(153)置于控料方管(152)内且控料板(153)的两端分别设有与控料板(153)固定连接的限位挡块(155),控料电机(154)安装于控料方管(152)的侧壁上且控料电机(154)的输出轴与控料板(153)固定连接。

4.根据权利要求3所述的一种瓜蒌籽饼干的调粉设备,其特征在于,所述给料件(14)均包括第一导粉板(141)、第二导粉板(142)和第三导粉板(143),所述第一导粉板(141)位于第二导粉板(142)的上方且第二导粉板(142)位于第三导粉板(143)的上方,所述第一导粉板(141)、第二导粉板(142)和第三导粉板(143)的一端均延伸至过料管道(111)内,过料管道(111)的侧壁上对应第一导粉板(141)、第二导粉板(142)和第三导粉板(143)设置有盛粉箱(144),所述第一导粉板(141)、第二导粉板(142)和第三导粉板(143)的另一端置于盛粉箱(144)内。

5.根据权利要求4所述的一种瓜蒌籽饼干的调粉设备,其特征在于,所述盛粉箱(144)内设有三个等间距设置的承托板(145)且三个承托板(145)均倾斜设置,每个承托板(145)上均设有安放槽(146),三个承托板(145)上均设有接粉盒(147)且三个接粉盒(147)分别位于第一导粉板(141)、第二导粉板(142)和第三导粉板(143)的正下方,三个接粉盒(147)的底部均设有复位板(148)和复位弹簧(149),所述复位板(148)置于安放槽(146)内且复位弹簧(149)的一端与复位板(148)固定连接,复位弹簧(149)的另一端与安放槽(146)的槽壁固定连接,三个所述接粉盒(147)的前段均设有若干个过粉孔(1410)。

6.根据权利要求5所述的一种瓜蒌籽饼干的调粉设备,其特征在于,所述每个接粉盒(147)的后端均设有能够在盛粉箱(144)上转动的传动轴(1411),每个所述传动轴(1411)上均设有用以推动接粉盒(147)的推动块(1412),所述设置在三个传动轴(1411)上的三个推动块(1412)与过料管道(111)侧壁之间的角度差依次增加60度,每个传动轴(1411)的一端均延伸出盛粉箱(144)外,所述盛粉箱(144)的侧壁外设有驱动电机(1414)和三个传动轮(1413),三个传动轮(1413)分别套接于三个传动轴(1411)上,驱动电机(1414)与盛粉箱(144)固定连接且驱动电机(1414)的输出轴与一个传动轴(1411)固定连接,三个传动轮(1413)通过皮带传动配合。

7.根据权利要求5所述的一种瓜蒌籽饼干的调粉设备,其特征在于,所述集粉箱(13)竖直设置且集粉箱(13)的底部延伸至混合装置(2)内,所述集粉箱(13)的侧壁上对应第一供给组件(11)和第二供给组件(12)上设置的接粉盒(147)设有六个避让缺口(1415)且六个避让缺口(1415)交错设置。

8.根据权利要求1所述的一种瓜蒌籽饼干的调粉设备,其特征在于,所述混合装置(2)包括承接箱(21)、旋转电机(22)、混粉筒(23)和收集盒(24),所述混粉筒(23)置于承接箱(21)内且混粉筒(23)位于集粉箱(13)的正下方,混粉筒(23)能够转动的安装于承接箱(21)上且混粉筒(23)的上段外侧壁上设有与其固定连接的环形齿条(231),所述旋转电机(22)竖直向上设置且旋转电机(22)与承接箱(21)固定连接,旋转电机(22)的输出轴上设有与环形齿条(231)传动配合的旋转齿轮(221),所述收集盒(24)置于混粉筒(23)正下方且收集盒(24)与承接箱(21)滑动配合,所述收集盒(24)的前端设有柜门(241),所述柜门(241)与承接箱(21)铰接。

9.根据权利要求8所述的一种瓜蒌籽饼干的调粉设备,其特征在于,所述混粉筒(23)的下段呈漏斗状且混粉筒(23)的底部设有与其相连通的出粉管(232),所述混粉筒(23)内设有与其固定连接的第一隔粉板(233)和第二隔粉板(234),所述第一隔粉板(233)为位于第二隔粉板(234)的上方且第一隔粉板(233)与第二隔粉板(234)固定连接,所述第一隔粉板(233)上设有出粉口(235),所述第二隔粉板(234)上设有通粉缺口(236),所述混粉筒(23)内设有竖直设置的支撑杆(237),所述支撑杆(237)的顶部设有呈圆锥型的导块(238),所述支撑杆(237)上套接有与第一隔粉板(233)抵触配合的挪粉杆(239)和与第二隔粉板(234)抵触配合的阻挡杆(2310)。

我要求购
我不想找了,帮我找吧
您有专利需要变现?
我要出售
智能匹配需求,快速出售