欢迎来到知嘟嘟! 联系电话:13336804447 卖家免费入驻,海量在线求购! 卖家免费入驻,海量在线求购!
知嘟嘟
我要发布
联系电话:13336804447
知嘟嘟经纪人
收藏
专利号: 2024201772569
专利类型:实用新型
专利状态:未下证
专利领域: 暂无
更新日期:2025-02-18
缴费截止日期: 暂无
价格&联系人
年费信息
委托购买

摘要:

权利要求书:

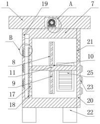
1.一种PLC数据采集控制柜,包括顶板(1),其特征在于,所述顶板(1)的内部开设有第一空腔(2),所述第一空腔(2)内壁的后侧固定连接有电机(3),所述电机(3)的输出端固定连接有转杆(4),所述转杆(4)杆壁的前后两方均固定连接有第一锥齿轮(5),两个所述第一锥齿轮(5)的底面均啮合连接有第二锥齿轮(6),所述顶板(1)的底面固定连接有电柜(7),所述电柜(7)内壁的前后两侧均开设有放置槽(8),两个所述第二锥齿轮(6)的内壁均设有保护范围可变的移动结构。

2.根据权利要求1所述的一种PLC数据采集控制柜,其特征在于,所述移动结构包括螺纹杆(9),所述螺纹杆(9)杆壁的上方与第二锥齿轮(6)的内壁固定连接,所述螺纹杆(9)杆壁的下方螺纹连接有移动块(10),所述移动块(10)的一面固定连接有隔板(11),所述电柜(7)内壁的左侧开设有第二空腔(12),所述第二空腔(12)内壁的上侧固定连接有吹风机(13),所述第二空腔(12)内壁的左侧开设有连接槽(14),所述连接槽(14)的内壁固定连接有制冷板(15),所述连接槽(14)内壁的左侧开设有散热口(16),所述第二空腔(12)内壁的右侧开设有多个出风口(17),所述第二空腔(12)的内壁位于多个出风口(17)处固定连接有海绵块(18),所述第二空腔(12)内壁的左侧位于吹风机(13)的上方开设有通风口(19)。

3.根据权利要求2所述的一种PLC数据采集控制柜,其特征在于,所述转杆(4)的前端与第一空腔(2)内壁的前侧转动连接,两个所述螺纹杆(9)的下端均贯穿第一空腔(2)内壁下侧的前后两方并与放置槽(8)内壁的下侧转动连接。

4.根据权利要求1所述的一种PLC数据采集控制柜,其特征在于,所述电柜(7)的右面设有柜门(20),所述柜门(20)右面的上方固定连接有透明玻璃(21)。

5.根据权利要求4所述的一种PLC数据采集控制柜,其特征在于,所述电柜(7)的底面四角处均固定连接有支撑腿(22),所述柜门(20)的右面位于透明玻璃(21)的下方均设有多个启动开关(23)。

6.根据权利要求2所述的一种PLC数据采集控制柜,其特征在于,多个所述散热口(16)内壁的左方均固定连接有过滤网(24)。

7.根据权利要求1所述的一种PLC数据采集控制柜,其特征在于,所述电柜(7)内壁的前后两侧位于两个放置槽(8)的右方均固定连接有出风窗(25)。