欢迎来到知嘟嘟! 联系电话:13336804447 卖家免费入驻,海量在线求购! 卖家免费入驻,海量在线求购!
知嘟嘟
我要发布
联系电话:13336804447
知嘟嘟经纪人
收藏
专利号: 2020201110599
申请人: 贵州汇力自控工程有限公司
专利类型:实用新型
专利状态:已下证
专利领域: 其他类目不包含的电技术
更新日期:2024-06-29
缴费截止日期: 暂无
价格&联系人
年费信息
委托购买

摘要:

权利要求书:

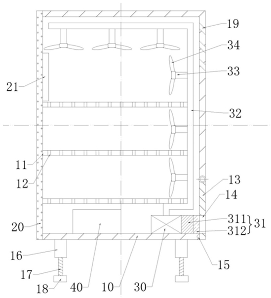
1.一种无线采集控制柜,包括控制柜主体,控制柜主体上设置有门;其特征在于:控制柜主体内部固定有抽风机,抽风机的进风口连接有过滤盒,过滤盒的进口端至出口端依次设置有过滤网和干燥剂;过滤盒上远离抽风机的一端与外界连通,抽风机的出口连接有风管,风管位于控制柜主体的内部;风管上设置有一个以上的出风口;控制柜主体上设置有散热孔;控制柜主体的内部设有检测传感器,检测传感器与控制柜主体内部的设备连接,检测传感器通过信号线连接显示屏,显示屏位于电气控制柜主体内部;所述的控制柜主体的内部设有PLC控制器;所述的PLC控制器的外部连接有无线传输模块,PLC控制器通过无线传输模块与外部终端实现数据通讯,无线传输模块为WIFI模块、3G模块、4G模块中的一种或多种。

2.根据权利要求1所述的一种无线采集控制柜,其特征在于:所述风管上连接有一个以上的出风管,出风管的出风口转动连接有扇叶。

3.根据权利要求1所述的一种无线采集控制柜,其特征在于:所述控制柜主体的内部固定有1-3个水平布置的放置板,放置板上开设有第一通孔。

4.根据权利要求1所述的一种无线采集控制柜,其特征在于:所述控制柜主体上靠近过滤盒的侧壁上设置有开口,开口处铰接有翻板,翻板的另一端与控制柜主体卡接,翻板上设置有第二通孔,第二通孔与过滤盒对齐。

5.根据权利要求1所述的一种无线采集控制柜,其特征在于:所述显示屏固定于控制柜主体的门的内侧壁上。

6.根据权利要求1所述的一种无线采集控制柜,其特征在于:所述过滤盒与所述抽风机螺纹连接。

7.根据权利要求1所述的一种无线采集控制柜,其特征在于:所述控制柜主体的底部设置有4个支撑腿,所述支撑腿包括外筒、内杆和底板,所述外筒固定在控制柜主体的底部,所述内杆与所述外筒螺纹连接,所述底板固定在所述内杆的底部。