欢迎来到知嘟嘟! 联系电话:13336804447 卖家免费入驻,海量在线求购! 卖家免费入驻,海量在线求购!
知嘟嘟
我要发布
联系电话:13336804447
知嘟嘟经纪人
收藏
专利号: 2024200192602
申请人: 吉安市青原区远大实业有限责任公司
专利类型:实用新型
专利状态:已下证
专利领域: 破碎、磨粉或粉碎;谷物碾磨的预处理
更新日期:2025-01-21
缴费截止日期: 暂无
价格&联系人
年费信息
委托购买

摘要:

权利要求书:

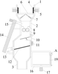
1.一种固废垃圾填埋预处理设备,其特征在于:包括中部处理筒(2),所述中部处理筒(2)的内部通过设有两个相啮合的破碎辊(9),且两个破碎辊(9)均通过转轴转动连接于中部处理筒(2)的内部,中部处理筒(2)的侧壁上与两根转轴位置对应处均连接有驱动电机,且驱动电机的输出轴与所对应转轴的端部相连接,中部处理筒(2)的内部还连接有导料斗(8);

中部处理筒(2)的顶端设有一级粉碎机构,中部处理筒(2)的底端固定连通有底部处理筒(3),底部处理筒(3)的内腔之中连接有呈倾斜布置的筛分网(12),底部处理筒(3)的侧壁上连接有第一螺旋输送机(13),第一螺旋输送机(13)底部连接有第一支架,第一螺旋输送机(13)的输出端上连接有第二螺旋输送机(14),第二螺旋输送机(14)侧壁上连接有第二支架,第二螺旋输送机(14)的输出端上连接有回输管(15),且回输管(15)远离第二螺旋输送机(14)的一端伸入中部处理筒(2)的内腔之中,底部处理筒(3)侧壁与筛分网(12)位置对应处连接有振动电机(11);

底部处理筒(3)的侧壁上还设有能对半固体垃圾进行粉碎处理的配合机构。

2.根据权利要求1所述的固废垃圾填埋预处理设备,其特征在于:所述导料斗(8)介于破碎辊(9)与回输管(15)之间,且回输管(15)的输出端处于导料斗(8)的上方。

3.根据权利要求1所述的固废垃圾填埋预处理设备,其特征在于:所述第一支架远离第一螺旋输送机(13)的一端与底部处理筒(3)的侧壁相连接,第二支架远离第二螺旋输送机(14)的一端与中部处理筒(2)的侧壁相连接;

所述第一螺旋输送机(13)的输入端与中部处理筒(2)的内腔相连通,且第一螺旋输送机(13)输入端的开口朝向筛分网(12)倾斜向下一端;

所述第二螺旋输送机(14)的输入端与第一螺旋输送机(13)的输出端相连通。

4.根据权利要求1所述的固废垃圾填埋预处理设备,其特征在于:所述一级粉碎机构包括固定连通于中部处理筒(2)顶端开口处的上处理筒(1),上处理筒(1)的左右两侧均连接有固定架,固定架的内腔之中连接有液压缸(5),且液压缸(5)的自由端穿过上处理筒(1)的侧壁伸入上处理筒(1)内腔之中并连接有挤压座(4);

上处理筒(1)的内腔位于挤压座(4)的下方转动连接有两个对开的开闭转门(6),每个开闭转门(6)的下方均设有电动推杆(7),且电动推杆(7)的一端转动连接于所对应开闭转门(6)的底部,另一端则转动连接于上处理筒(1)内腔侧壁上。

5.根据权利要求4所述的固废垃圾填埋预处理设备,其特征在于:当所述开闭转门(6)处于水平状态时,所述开闭转门(6)的顶面与处于其上方所对应挤压座(4)的底面相贴。

6.根据权利要求1所述的固废垃圾填埋预处理设备,其特征在于:所述配合机构包括固定连接于底部处理筒(3)侧壁上的粉碎箱(16),粉碎箱(16)内腔底壁上转动连接有旋杆,旋杆侧壁上连接有粉碎刀;

粉碎箱(16)的底部连接有动力电机(17),且动力电机(17)的输出轴与旋杆底端相连接;

粉碎箱(16)的侧壁上还贯穿开设有一个取料口,取料口内活动插设有封堵座(19),封堵座(19)的端部上连接有端板(18);

端板(18)上对称的贯穿开设有两个穿孔,粉碎箱(16)侧壁上与两个穿孔位置对应处均连接有第二连接螺杆(25),且第二连接螺杆(25)远离粉碎箱(16)的一端穿过所对应的穿孔并螺纹连接有第二紧固螺套(26)。

7.根据权利要求1所述的固废垃圾填埋预处理设备,其特征在于:所述底部处理筒(3)侧壁的上部开设有一个回收口,回收口内活动插设有L型抽拉座(10);

L型抽拉座(10)内腔侧壁上转动连接有导料滑板(23),导料滑板(23)的内部设有磁铁板(24);

导料滑板(23)的下方设有弹簧伸缩杆(22),且弹簧伸缩杆(22)的顶端转动连接于导料滑板(23)的底部,弹簧伸缩杆(22)的底端则转动连接于L型抽拉座(10)内腔底壁上;

L型抽拉座(10)侧壁上贯穿开设有一个限位洞,底部处理筒(3)的侧壁上与限位洞位置对应处均连接有第一连接螺杆(20),且第一连接螺杆(20)远离底部处理筒(3)的一端穿过所对应的限位洞并螺纹连接有第一紧固螺套(21)。

8.根据权利要求7所述的固废垃圾填埋预处理设备,其特征在于:所述导料滑板(23)处于两个相互啮合的破碎辊(9)的正下方。