欢迎来到知嘟嘟! 联系电话:13336804447 卖家免费入驻,海量在线求购! 卖家免费入驻,海量在线求购!
知嘟嘟
我要发布
联系电话:13336804447
知嘟嘟经纪人
收藏
专利号: 2024114147289
申请人: 南京创哎拓数控科技有限公司
专利类型:发明专利
专利状态:授权未缴费
专利领域: 光学
更新日期:2025-03-07
缴费截止日期: 暂无
价格&联系人
年费信息
委托购买

摘要:

权利要求书:

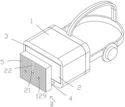
1.一种研学全景仿真体验VR眼镜,包括眼镜本体(1),其特征在于:所述眼镜本体(1)上开设有用于放置手机(2)的放置槽(3),所述眼镜本体(1)上通过连接杆(4)活动连接有定位盒(5),所述连接杆(4)的一端固定在所述眼镜本体(1)上,所述连接杆(4)的另一端与所述定位盒(5)滑动连接,所述定位盒(5)内设置有容纳槽(6),所述容纳槽(6)的内部弹性连接有压紧块(7),所述连接杆(4)的端部设置有蓄力机构(8),所述蓄力机构(8)上连接有传动齿条(9),所述传动齿条(9)上设置有导向块(10),所述压紧块(7)上固定有与所述导向块(10)抵触的第一抵触块(11),所述压紧块(7)通过所述第一抵触块(11)沿着所述导向块(10)滑动对手机(2)进行压紧;

所述蓄力机构(8)上还连接有限制解除组件(12),所述限制解除组件(12)通过所述连接杆(4)推动使所述蓄力机构(8)进行泄力,所述传动齿条(9)的端部弹性连接有升降杆(13),所述升降杆(13)上转动设置有压辊(14),所述压紧块(7)的底边固定连接有导热片(15),所述导热片(15)的另一端固定有支撑杆(16),所述支撑杆(16)弹性设置在所述定位盒(5)内,所述压辊(14)与所述导热片(15)抵触;

所述蓄力机构(8)包括固定在所述连接杆(4)上的驱动齿条(81),所述驱动齿条(81)上啮合有第一驱动齿轮(82),所述第一驱动齿轮(82)通过转轴(83)转动设置在所述容纳槽(6)内,所述转轴(83)的一端设置在所述容纳槽(6)的内壁上,所述转轴(83)的圆周上还设置有第二驱动齿轮(84),所述第二驱动齿轮(84)与所述第一驱动齿轮(82)之间通过扭簧(85)弹性连接,所述扭簧(85)的两端分别与所述第二驱动齿轮(84)和所述第一驱动齿轮(82)固定连接,且所述第二驱动齿轮(84)与所述传动齿条(9)啮合;

所述限制解除组件(12)包括固定在所述连接杆(4)端部的凸块(121),所述容纳槽(6)内固定有套筒(122),所述套筒(122)内滑动设置有限制杆(123),所述限制杆(123)与所述第二驱动齿轮(84)抵触,所述限制杆(123)上固定有与所述凸块(121)配合运动的凸条(124);

所述限制杆(123)上还设有卡块(125),所述套筒(122)内开设有移动槽(126),所述移动槽(126)内设置有第一弹片(127)和第二弹片(128),所述卡块(125)设置在所述第一弹片(127)和第二弹片(128)之间,且所述限制杆(123)的端部固定有按钮(129),所述按钮(129)设置在所述定位盒(5)的外侧。

我要求购
我不想找了,帮我找吧
您有专利需要变现?
我要出售
智能匹配需求,快速出售