欢迎来到知嘟嘟! 联系电话:13336804447 卖家免费入驻,海量在线求购! 卖家免费入驻,海量在线求购!
知嘟嘟
我要发布
联系电话:13336804447
知嘟嘟经纪人
收藏
专利号: 202111167911X
申请人: 长沙学院
专利类型:发明专利
专利状态:已下证
专利领域: 输送;包装;贮存;搬运薄的或细丝状材料
更新日期:2024-01-05
缴费截止日期: 暂无
价格&联系人
年费信息
委托购买

摘要:

权利要求书:

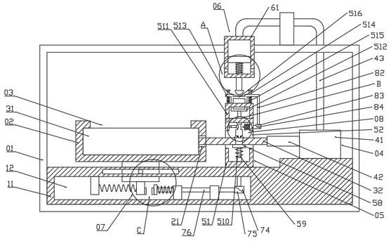
1.一种VR眼镜镜片真空包装设备,其特征在于,包括:工作台;放置框,活动设置在工作台上,内部可拆卸安装有袋装组件,且袋装组件包括袋体和抽气端;真空包装组件,连接所述袋装组件,用于将袋装组件内部抽真空;密封组件,安装在放置框上,用于抽真空完成后对袋装组件进行密封;所述密封组件包括箱体、支撑件和密封件;其中,支撑件,活动安装在所述箱体内,用于对袋装组件的抽气端进行支撑;密封件,活动安装在所述箱体内,且与所述支撑件位于不同侧,用于对袋装组件的抽气端进行密封;顶压组件,连接真空包装组件和密封组件,用于在抽真空过程中带动密封件在箱体内活动,以对袋装组件的抽气端进行密封;所述顶压组件包括:集气件,与所述真空包装组件连通,用于收集抽出的空气;顶压件,活动设置在集气件上,用于带动密封件在竖直方向上移动;所述集气件包括固定安装在工作台上的连接箱,连接箱与第二连接管的一端连通,抽真空机抽出的气体通过第二连接管进入到连接箱中,带动顶压件在竖直方向上移动;所述连接箱上设有通气孔,排出连接箱内的气体;所述顶压件包括活动设置在连接箱内的活动板,活动板与顶杆的一端固定连接,顶杆的另一端与顶针固定连接,当活动板在竖直方向上移动时能够带动顶针也在竖直方向上移动,顶针与固定在U型架上的固定板配合使用,当顶针向下移动时能够带动固定板向下移动,带动密封件向下移动;所述活动板与连接箱之间通过第四弹簧连接。2.根据权利要求1所述的VR眼镜镜片真空包装设备,其特征在于,所述抽气端上设有与密封件相配合的搭配件,通过与密封件的配合对抽气端进行密封。3.根据权利要求1所述的VR眼镜镜片真空包装设备,其特征在于,所述支撑件包括:支撑体,活动安装在所述箱体内,用于对抽气端进行支撑;伸缩件,连接所述支撑体,用于密封时带动支撑体在竖直方向上移动。4.根据权利要求1所述的VR眼镜镜片真空包装设备,其特征在于,所述密封件包括:密封体,用于与抽气端配合使用,以对抽气端进行密封;插设件,活动设置在所述密封体上,用于将密封体插设在抽气端上;第一驱动件;活动安装在箱体上,用于带动密封件在竖直方向上移动。5.根据权利要求1所述的VR眼镜镜片真空包装设备,其特征在于,还包括:第一活动组件,安装在所述工作台内,用于带动放置框在水平方向上移动;其中,所述第一活动组件包括:活动件,安装在放置框一侧,用于带动放置框在水平方向上移动;第二驱动件,安装在所述工作台内,用于带动活动架在水平方向上移动,且与所述支撑件配合使用。6.根据权利要求5所述的VR眼镜镜片真空包装设备,其特征在于,所述活动件包括连接部和配合部;其中,连接部,连接所述放置框,用于带动放置框在水平方向上移动;

配合部,安装在连接部上,且与所述第二驱动件配合使用,通过第二驱动件带动连接部进行移动。7.根据权利要求1所述的VR眼镜镜片真空包装设备,其特征在于,还包括:切割组件,安装在箱体上,用于切割所述密封件;所述切割组件包括同步件和切割件,其中,切割件,活动设置在箱体上,且与所述同步件的一端配合使用,用于切割密封件的一端;同步件,安装在所述支撑件上,用于支撑件移动时带动切割件也进行移动来切割密封件的一端,以使得密封件脱离箱体。

我要求购
我不想找了,帮我找吧
您有专利需要变现?
我要出售
智能匹配需求,快速出售