欢迎来到知嘟嘟! 联系电话:13336804447 卖家免费入驻,海量在线求购! 卖家免费入驻,海量在线求购!
知嘟嘟
我要发布
联系电话:13336804447
知嘟嘟经纪人
收藏
专利号: 2023236087943
专利类型:其他
专利状态:未下证
专利领域: 暂无
更新日期:2024-11-06
缴费截止日期: 暂无
价格&联系人
年费信息
委托购买

摘要:

权利要求书:

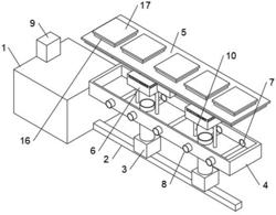
1.一种带夜光照明的园林景观自动灌溉系统,其特征在于,包括:供水箱(1),所述供水箱(1)的内部自带水泵,所述供水箱(1)的右表面固定连接有预埋引水管(2),所述预埋引水管(2)的侧表面固定连接有多个导水管(3),所述导水管(3)的上端固定连接有预制导水槽(4),所述预制导水槽(4)的下表面与地面紧密接触,所述导水管(3)的上端贯穿预制导水槽(4)的底壁;

所述预制导水槽(4)内部设置有多个水源限制盒(6),所述水源限制盒(6)由阻水块(13)、排水开口(12)组成,所述水源限制盒(6)的下壁被导水管(3)的下壁贯穿,所述水源限制盒(6)的下表面固定连接有两个自动伸缩杆(10),两个所述自动伸缩杆(10)左、右相对分布,所述自动伸缩杆(10)的下端与预制导水槽(4)的下内壁固定连接,所述预制导水槽(4)的前、后两表面均设置有多个渗水口(7);

所述预制导水槽(4)的下内壁固定连接有自动折叠板(11),所述自动折叠板(11)由安装立柱、折叠板组成;所述自动折叠板(11)的上表面固定连接有装饰垫(5),所述装饰垫(5)的上表面固定连接有照明灯(18)。

2.根据权利要求1所述的一种带夜光照明的园林景观自动灌溉系统,其特征在于,所述阻水块(13)的侧表面设置有多个导向槽(15),所述导向槽(15)贯通阻水块(13)的上、下两端。

3.根据权利要求1所述的一种带夜光照明的园林景观自动灌溉系统,其特征在于,所述阻水块(13)的下表面固定连接有密封块(14),未灌溉植物时,所述密封块(14)位于导水管(3)的内部。

4.根据权利要求1所述的一种带夜光照明的园林景观自动灌溉系统,其特征在于,所述渗水口(7)的内部固定连接有引水接口(8)。

5.根据权利要求1所述的一种带夜光照明的园林景观自动灌溉系统,其特征在于,所述装饰垫(5)的上表面固定连接有多个橡胶套(16),所述照明灯(18)位于橡胶套(16)的内部。

6.根据权利要求5所述的一种带夜光照明的园林景观自动灌溉系统,其特征在于,所述橡胶套(16)的上表面固定连接有隔离膜(17),所述隔离膜(17)完全覆盖照明灯(18)。

7.根据权利要求1所述的一种带夜光照明的园林景观自动灌溉系统,其特征在于,所述供水箱(1)的上表面固定连接有湿度检测器(9),所述湿度检测器(9)的检测部分预埋于泥土内部。

8.根据权利要求7所述的一种带夜光照明的园林景观自动灌溉系统,其特征在于,所述湿度检测器(9)与水泵电性连接。