欢迎来到知嘟嘟! 联系电话:13336804447 卖家免费入驻,海量在线求购! 卖家免费入驻,海量在线求购!
知嘟嘟
我要发布
联系电话:13336804447
知嘟嘟经纪人
收藏
专利号: 2020221337779
申请人: 池明华
专利类型:实用新型
专利状态:已下证
专利领域: 照明
更新日期:2024-02-26
缴费截止日期: 暂无
价格&联系人
年费信息
委托购买

摘要:

权利要求书:

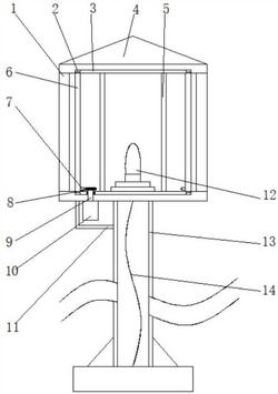
1.一种园林景观用夜景灯,包括支撑杆(13),其特征在于:支撑杆(13)顶部固定安装有安装架(1),安装架(1)顶部可拆卸安装有顶棚(4),安装架(1)中部可拆卸安装有灯具(12),灯具(12)外部可拆卸安装有灯罩(5),安装架(1)底部可拆卸安装有电机(10),电机(10)外部可拆卸安装有防护罩(11),电机(10)的电机轴(9)顶部可拆卸安装有主动齿轮(8),安装架(1)顶部和底部对称开设有两组同尺寸的滑槽(3),滑槽(3)镶嵌安装有固定架(6),固定架(6)顶部和底部均环形转动安装有多组同尺寸的导轮(2),每组所述导轮(2)均与滑槽(3)镶嵌安装,固定架(6)内壁底部一体化成型有环齿排(7),固定架(6)侧壁固定安装有多组同尺寸的固定杆(15),每组所述固定杆(15)均固定安装有网孔板(16),支撑杆(13)内部镶嵌安装有导线(14)。

2.根据权利要求1所述的一种园林景观用夜景灯,其特征在于:所述主动齿轮(8)与环齿排(7)啮合。

3.根据权利要求1所述的一种园林景观用夜景灯,其特征在于:所述固定杆(15)的数量为五个,网孔板(16)宽度为6cm。

4.根据权利要求1所述的一种园林景观用夜景灯,其特征在于:所述导线(14)均与电机(10)和灯具(12)电性连接。