欢迎来到知嘟嘟! 联系电话:13336804447 卖家免费入驻,海量在线求购! 卖家免费入驻,海量在线求购!
知嘟嘟
我要发布
联系电话:13336804447
知嘟嘟经纪人
收藏
专利号: 2023235450107
专利类型:实用新型
专利状态:未下证
专利领域: 暂无
更新日期:2024-08-16
缴费截止日期: 暂无
价格&联系人
年费信息
委托购买

摘要:

权利要求书:

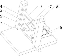
1.一种木质包装箱生产加工装置,它包括有底座(1),其特征在于:底座(1)一端顶部安装有定位组件,底座(1)另一端顶部安装有切割组件;所述的定位组件包括有立柱(2),立柱(2)为两条,分别固定在底座(1)顶部两侧,两条立柱(2)相对一侧设有内凹形成的安装槽(3),其中一条安装槽(3)内安装有安装轴(4),另一条安装槽(3)内活动安装有升降螺杆(5),升降螺杆(5)与安装轴(4)之间活动安装有升降板(6),升降板(6)底部安装有上定位板(7),升降螺杆(5)顶部向上穿过立柱(2)与升降电机(8)的传动轴连接;所述的切割组件包括有安装座(9),安装座(9)为两个,分布安装在底座(1)顶部两侧,两个安装座(9)之间活动安装有切割螺杆(10),切割螺杆(10)其中一端穿过相应的安装座(9)与第一切割电机(27)的传动轴连接,切割螺杆(10)上活动啮合有切割座(11),位于定位组件一侧的切割座(11)上活动安装有旋转轴(12),旋转轴(12)一端穿过切割座(11)上安装有切割刀(13),旋转轴(12)另一端穿过切割座(11)与第二切割电机(14)的传动轴连接。

2.根据权利要求1所述的一种木质包装箱生产加工装置,其特征在于:两条立柱(2)之间的底座(1)内设有螺杆槽(15),螺杆槽(15)内活动安装有双向螺杆(16),双向螺杆(16)两端活动啮合有定位臂(17),双向螺杆(16)上方的底座(1)上设有内外贯穿的滑槽(28),两条定位臂(17)顶部向上穿过滑槽(28)后折弯与侧定位板(18)连接,位于升降螺杆(5)一端的双向螺杆(16)上安装有第一锥齿轮(19),升降螺杆(5)底部向下延伸至螺杆槽(15)内与第二锥齿轮(20)连接,安装后的第二锥齿轮(20)与第一锥齿轮(19)相啮合。

3.根据权利要求1所述的一种木质包装箱生产加工装置,其特征在于:位于切割组件一端的底座(1)顶部设有下凹形成的调节槽(21),其中一条调节槽(21)内安装有调节轴(22),其中一个安装座(9)底部活动安装在调节轴(22)上,另一条调节槽(21)内安装有调节螺杆(23),另一个安装座(9)底部活动安装在调节螺杆(23)上,远离定位组件一端的调节螺杆(23)穿过底座(1)与调节电机(24)连接,位于调节电机(24)一端的底座(1)顶部固定有限位板(25),调节槽(21)外侧的底座(1)顶部设有刻度尺(26)。