欢迎来到知嘟嘟! 联系电话:13336804447 卖家免费入驻,海量在线求购! 卖家免费入驻,海量在线求购!
知嘟嘟
我要发布
联系电话:13336804447
知嘟嘟经纪人
收藏
专利号: 2023235448003
专利类型:实用新型
专利状态:未下证
专利领域: 暂无
更新日期:2024-08-16
缴费截止日期: 暂无
价格&联系人
年费信息
委托购买

摘要:

权利要求书:

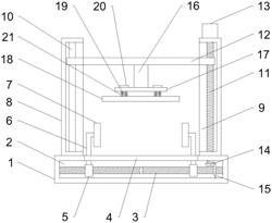
1.一种木质包装箱生产用的定位装置,它包括有底座(1),其特征在于:底座(1)内腔设有螺杆安装槽(2),螺杆安装槽(2)内呈水平安装有双向螺杆(3),双向螺杆(3)上方的底座(1)顶部设有上下贯穿的滑槽(4),双向螺杆(3)两端活动啮合有螺纹套(5),螺纹套(5)顶部安装有定位臂(6),定位臂(6)顶部向上穿过滑槽(4)与侧定位板(7)连接,安装后的两块侧定位板(7)之间预留有定位区,滑槽(4)两端的底座(1)顶部竖直固定有立柱(8),两条立柱(8)相对一侧设有内凹形成的升降槽(9),其中一条升降槽(9)内竖直安装有导向轴(10),另一条升降槽(9)内竖直安装有升降螺杆(11),升降螺杆(11)与导向轴(10)之间的活动安装有升降板(12),升降板(12)底部安装有上定位组件,升降螺杆(11)顶部向上穿过立柱(8)与旋转电机(13)的传动轴连接,升降螺杆(11)底部向下延伸至螺杆安装槽(2)内与第一锥齿轮(14)连接,第一锥齿轮(14)一侧的双向螺杆(3)上安装有第二锥齿轮(15),安装后的第二锥齿轮(15)与第一锥齿轮(14)相啮合。

2.根据权利要求1所述的一种木质包装箱生产用的定位装置,其特征在于:上定位组件包括有安装柱(16)、安装板(17)、上定位板(18),其中,安装柱(16)竖直固定在升降板(12)底部,安装柱(16)底部呈水平固定有安装板(17),安装板(17)下方设有上定位板(18),上定位板(18)顶部安装有缓冲轴(19),缓冲轴(19)顶部向上穿过安装板(17)与限位板(20)连接,安装板(17)与上定位板(18)之间的缓冲轴(19)上套装有缓冲弹簧(21),套装后的缓冲弹簧(21)顶部与安装板(17)底部抵触,缓冲弹簧(21)底部与上定位板(18)顶部抵触。

3.根据权利要求1所述的一种木质包装箱生产用的定位装置,其特征在于:定位臂(6)底部竖直固定在螺纹套(5)顶部,两条定位臂(6)顶部向上穿过滑槽(4)后相对折弯形成有定位端,侧定位板(7)安装在定位端端部。

我要求购
我不想找了,帮我找吧
您有专利需要变现?
我要出售
智能匹配需求,快速出售