欢迎来到知嘟嘟! 联系电话:13336804447 卖家免费入驻,海量在线求购! 卖家免费入驻,海量在线求购!
知嘟嘟
我要发布
联系电话:13336804447
知嘟嘟经纪人
收藏
专利号: 2023214535213
申请人: 新沂市雅泽智造科技有限公司
专利类型:实用新型
专利状态:已下证
专利领域: 手动切割工具;切割;切断
更新日期:2024-04-03
缴费截止日期: 暂无
价格&联系人
年费信息
委托购买

摘要:

权利要求书:

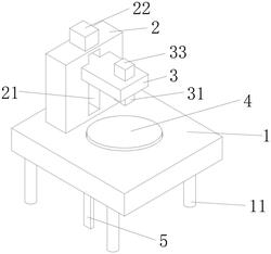
1.箱包生产用定位装置,包括底座(1),其特征在于:所述底座(1)的下侧固定连接有支撑腿(11),底座(1)的下侧开设有滑动槽(13),滑动槽(13)为L形槽,滑动槽(13)的右壁延伸进转动槽(12)的内部,底座(1)的上侧开设有转动槽(12),转动槽(12)的内部转动连接有下转动块(4),下转动块(4)的外表面开设有卡接槽(41),滑动槽(13)的内部设置有卡接块(5),卡接块(5)的下侧延伸出滑动槽(13)的下侧,滑动槽(13)的后壁上转动连接有转动轴(52),转动轴(52)的前端转动贯穿过卡接块(5)的前侧,转动轴(52)的前端转动连接在滑动槽(13)的前侧,卡接块(5)的右侧固定连接有卡接头(51),卡接头(51)的右侧延伸进卡接槽(41)的内部,卡接块(5)的左侧固定连接有弹簧(53),弹簧(53)的左端固定连接在滑动槽(13)的左壁上底座(1)的上侧设置有固定装置。

2.根据权利要求1所述的箱包生产用定位装置,其特征在于:所述固定装置包括固定块(2),固定块(2)设置在底座(1)的上侧,固定块(2)设置在下转动块(4)的后侧,固定块(2)的前侧开设有升降槽(21),升降槽(21)的内部滑动连接有升降面(3)。

3.根据权利要求2所述的箱包生产用定位装置,其特征在于:所述升降面(3)的前侧延伸出升降槽(21)的前侧,固定块(2)的上侧固定连接有第一电机(22),第一电机(22)的输出端固定连接有第一传动轴,第一传动轴的下端转动贯穿进升降槽(21)的内部。

4.根据权利要求3所述的箱包生产用定位装置,其特征在于:所述第一传动轴的下端固定连接有第一螺纹杆(23),第一螺纹杆(23)的下端螺纹贯穿过升降面(3)的下侧,第一螺纹杆(23)的下端转动连接在升降槽(21)的底壁上,升降面(3)的下侧固定连接有连接块(31)。

5.根据权利要求4所述的箱包生产用定位装置,其特征在于:所述连接块(31)的内部滑动连接有滑动块(32),滑动块(32)的下侧延伸出连接块(31)的下侧,滑动块(32)的下侧转动连接有上转动块(35),升降面(3)的上侧固定连接有第二电机(33)。

6.根据权利要求5所述的箱包生产用定位装置,其特征在于:所述第二电机(33)的输出端固定连接有第二传动轴,第二传动轴的下端转动贯穿过升降面(3)的下侧,第二传动轴的下端固定连接有第二螺纹杆(34),第二螺纹杆(34)的下端螺纹贯穿进滑动块(32)的内部。