欢迎来到知嘟嘟! 联系电话:13336804447 卖家免费入驻,海量在线求购! 卖家免费入驻,海量在线求购!
知嘟嘟
我要发布
联系电话:13336804447
知嘟嘟经纪人
收藏
专利号: 202323475852X
申请人: 吉诺尔(营口)耐火材料有限责任公司
专利类型:实用新型
专利状态:已下证
专利领域: 加工水泥、黏土或石料
更新日期:2025-02-24
缴费截止日期: 暂无
价格&联系人
年费信息
委托购买

摘要:

权利要求书:

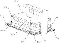
1.一种镁碳砖生产用砖坯成型装置,包括成型平台(1)和滑动设置在成型平台(1)上的压制板(2),所述成型平台(1)上设置有对镁碳砖压制成型的压制结构(3),其特征在于:所述成型平台(1)上设置有传动部件(4),其中,通过驱动机构(5)驱动传动部件(4)推动压制结构(3)与砖坯分离,并在分离后驱动压制板(2)带动砖坯移动下一工序。

2.根据权利要求1所述的一种镁碳砖生产用砖坯成型装置,其特征在于:所述压制结构(3)包括压制块(301)和压制模块(302),所述压制块(301)与压制模块(302)之间通过连接结构(303)连接。

3.根据权利要求2所述的一种镁碳砖生产用砖坯成型装置,其特征在于:所述连接结构(303)包括固定设置在压制块(301)外侧的连接块(3031),所述连接块(3031)的内部滑动设置有连接杆(3032),所述压制模块(302)的外侧固定设置有连接板(3033),所述连接杆(3032)的底端与连接板(3033)固定连接。

4.根据权利要求3所述的一种镁碳砖生产用砖坯成型装置,其特征在于:所述压制板(2)的两侧固定设置有导向滑块(201),所述导向滑块(201)的外表面与成型平台(1)的内表面滑动连接。

5.根据权利要求4所述的一种镁碳砖生产用砖坯成型装置,其特征在于:所述驱动机构(5)包括转动设置在成型平台(1)两侧的驱动螺杆(501),两个所述驱动螺杆(501)通过传动组件(502)传动连接,所述成型平台(1)的一侧固定设置有驱动电机(503),所述驱动电机(503)的输出轴通过联轴器与其中一个驱动螺杆(501)的端部固定连接。

6.根据权利要求5所述的一种镁碳砖生产用砖坯成型装置,其特征在于:所述传动部件(4)包括与驱动螺杆(501)外表面螺纹连接的第一驱动块(401),所述第一驱动块(401)贯穿成型平台(1)并与导向滑块(201)的内表面滑动连接,所述驱动螺杆(501)的外表面螺纹设置有第二驱动块(402),所述第二驱动块(402)与成型平台(1)的内表面滑动连接,所述驱动螺杆(501)上设置有推动第二驱动块(402)复位的推动部件(6)。

7.根据权利要求6所述的一种镁碳砖生产用砖坯成型装置,其特征在于:所述推动部件(6)包括固定设置在驱动螺杆(501)末端的滑杆(601),所述滑杆(601)的外表面滑动设置有推动块(602),所述滑杆(601)的外表面固定设置有复位弹性部件(603),其中,所述复位弹性部件(603)的一端与推动块(602)固定连接。

8.根据权利要求6所述的一种镁碳砖生产用砖坯成型装置,其特征在于:所述连接板(3033)的底部向下延伸形成有延伸部(403),所述第一驱动块(401)与第二驱动块(402)均与延伸部(403)的底部接触。