欢迎来到知嘟嘟! 联系电话:13336804447 卖家免费入驻,海量在线求购! 卖家免费入驻,海量在线求购!
知嘟嘟
我要发布
联系电话:13336804447
知嘟嘟经纪人
收藏
专利号: 2023221226040
申请人: 郑州市德耐科冶金有限公司
专利类型:实用新型
专利状态:已下证
专利领域: 干燥
更新日期:2025-02-11
缴费截止日期: 暂无
价格&联系人
年费信息
委托购买

摘要:

权利要求书:

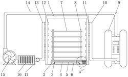
1.镁碳砖成型用快速干燥装置,其特征在于,包括干燥室(1)和移动车(2),所述干燥室(1)两侧表面分别贯穿连接有进气管(11)和出气管(12),且进气管(11)另一端贯通连接有汇流管(10),并且汇流管(10)另一端接通分子筛干燥器(9),所述出气管(12)另一端贯通连接有分流管(13),且分流管(13)另一端贯通连接有加热箱(17),并且加热箱(17)另一端贯通连接有引风机(15),所述加热箱(17)内部固定安装有电热丝(16),所述移动车(2)底面固定安装有移动轮(3),且移动车(2)顶面开设有转动槽(6),并且转动槽(6)内部转动连接有转动柱(4),所述转动柱(4)顶面固定连接有转台(5),且转台(5)边缘开设有齿牙(21),并且转台(5)顶面通过立柱(8)固定架设有摆放架(7),所述干燥室(1)内底面开设有轨道槽(18),且轨道槽(18)一端的一侧位于干燥室(1)内部固定安装有驱动电机(19),并且驱动电机(19)输出端安装有齿轮(20),所述齿轮(20)与齿牙(21)啮合。

2.根据权利要求1所述的镁碳砖成型用快速干燥装置,其特征在于,所述移动轮(3)为直线轮,且移动轮(3)插入到轨道槽(18)中。

3.根据权利要求1所述的镁碳砖成型用快速干燥装置,其特征在于,所述进气管(11)和出气管(12)均布置有多个,且进气管(11)和出气管(12)均从上至下等间距布置。

4.根据权利要求1所述的镁碳砖成型用快速干燥装置,其特征在于,所述干燥室(1)正立面安装有封闭门。

5.根据权利要求1所述的镁碳砖成型用快速干燥装置,其特征在于,所述转动柱(4)底面和转动槽(6)内底面之间滚动连接有滚珠(22),且滚珠(22)设置有多个。

6.根据权利要求1所述的镁碳砖成型用快速干燥装置,其特征在于,所述转动柱(4)和转动槽(6)竖向截面均为凸字形。

7.根据权利要求1所述的镁碳砖成型用快速干燥装置,其特征在于,所述摆放架(7)从上至下等间距布置有多个,且摆放架(7)顶面经过拉毛处理。

8.根据权利要求1所述的镁碳砖成型用快速干燥装置,其特征在于,所述移动轮(3)安装有自锁结构。

9.根据权利要求1所述的镁碳砖成型用快速干燥装置,其特征在于,所述分子筛干燥器(9)输出端通过回气管(14)与引风机(15)进气端贯通连接。