欢迎来到知嘟嘟! 联系电话:13336804447 卖家免费入驻,海量在线求购! 卖家免费入驻,海量在线求购!
知嘟嘟
我要发布
联系电话:13336804447
知嘟嘟经纪人
收藏
专利号: 2023234525360
专利类型:实用新型
专利状态:未下证
专利领域: 暂无
更新日期:2024-12-06
缴费截止日期: 暂无
价格&联系人
年费信息
委托购买

摘要:

权利要求书:

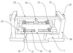
1.一种磨床用夹持装置,包括底板(1),其特征在于:所述底板(1)的上表面固定连接有第一电机(2),所述第一电机(2)的输出端固定连接有连接轴(3),所述连接轴(3)的顶端固定连接有联动板(4),所述联动板(4)的上表面固定连接有固定柱(5),所述固定柱(5)的外壁转动连接有连接套环(6),所述连接套环(6)的内壁转动连接有固定圆盘(7),所述固定圆盘(7)的下表面固定连接有滑板(8),所述滑板(8)的上表面固定连接有夹块(9),所述滑板(8)的下表面滑动连接有第一滑轨(10),所述第一滑轨(10)的下表面固定连接有支块(11),所述支块(11)的下表面固定连接在底板(1)的上表面。

2.根据权利要求1所述的一种磨床用夹持装置,其特征在于:所述夹块(9)的上表面固定连接有箱壳(12),所述箱壳(12)的内部固定连接有固定轴(13),所述固定轴(13)的外壁转动连接有转动板(14)。

3.根据权利要求2所述的一种磨床用夹持装置,其特征在于:所述转动板(14)的内部固定连接有连接柱(15),所述连接柱(15)的外壁转动连接有限位轮(16)。

4.根据权利要求1所述的一种磨床用夹持装置,其特征在于:所述底板(1)的上表面固定连接有支腿(17),所述支腿(17)的顶端固定连接有固定台(18)。

5.根据权利要求4所述的一种磨床用夹持装置,其特征在于:所述固定台(18)的内部开设有第一凹槽(19),所述夹块(9)的外壁滑动连接在第一凹槽(19)的外壁。

6.根据权利要求1所述的一种磨床用夹持装置,其特征在于:所述底板(1)的上表面固定连接有限位板(20),所述限位板(20)的内部开设有第二凹槽(21),所述限位板(20)的外壁滑动连接有限位块(22)。

7.根据权利要求6所述的一种磨床用夹持装置,其特征在于:所述限位块(22)的外壁固定连接有第二滑轨(23),所述第二滑轨(23)的外壁滑动连接在第二凹槽(21)的内壁。

8.根据权利要求7所述的一种磨床用夹持装置,其特征在于:所述第二滑轨(23)的下表面滑动连接有滑块(24),所述滑块(24)的下表面固定连接有第二电机(25),所述第二电机(25)的输出端固定连接有磨盘(26)。