欢迎来到知嘟嘟! 联系电话:13095918853 卖家免费入驻,海量在线求购! 卖家免费入驻,海量在线求购!
知嘟嘟
我要发布
联系电话:13095918853
知嘟嘟经纪人
收藏
专利号: 2018113557685
申请人: 周美林
专利类型:发明专利
专利状态:授权未缴费
专利领域: 磨削;抛光
更新日期:2024-11-26
缴费截止日期: 暂无
价格&联系人
年费信息
委托购买

摘要:

权利要求书:

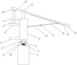
1.一种刀片磨床用夹持装置,包括底座(1),其特征在于,所述底座(1)顶部固定有两个支撑架(2),两个所述支撑架(2)之间中部转动安装有转轴(3),且转轴(3)两端延伸至支撑架(2)外部,所述转轴(3)两端转动安装有角度控制装置,两个所述支撑架(2)互相远离的侧面固定安装有扇形板(4),所述转轴(3)中部固定连接有矩形的支撑板(5),所述支撑板(5)侧面下部固定有固定夹板(6),所述支撑板(5)侧面远离固定夹板(6)的一端固定有限位板(7),所述限位板(7)中部活动连接有方形直杆(8),所述方形直杆(8)底部固定有移动夹板(9),所述方形直杆(8)远离移动夹板(9)的一端铰接有滑块(10),所述支撑板(5)顶部固定有支杆(11),所述支杆(11)远离支撑板(5)的一端转动连接有长杆(12),所述滑块(10)活动套接在长杆(12)靠近限位板(7)的一端,所述长杆(12)远离滑块(10)的一端固定有握把(13),所述长杆(12)为矩形结构,所述长杆(12)底部等距离设有倒刺状的固定齿(14),所述支撑板(5)远离固定夹板(6)的侧面中部通过铰接有第一连杆(15),所述第一连杆(15)远离铰链的一端通过转动轴转动连接有第二连杆(16),所述第一连杆(15)和第二连杆(16)的交接处活动套设有锁套(17)。

2.根据权利要求1所述的一种刀片磨床用夹持装置,其特征在于,所述第一连杆(15)直径大小等于第二连杆(16)的直径大小,锁套(17)与第一连杆(15)、第二连杆(16)紧密配合,所述锁套(17)为空心圆柱结构,锁套(17)外壁固定连接有橡胶垫。

3.根据权利要求1所述的一种刀片磨床用夹持装置,其特征在于,所述角度控制装置包括U字形的固定架(18),所述转轴(3)两端转动连接有固定架(18),固定架(18)底部等距离固定连接有细杆(19),相邻细杆(19)之间夹角为1度,所述扇形板(4)正面等距离开有方槽,方槽宽度大小等于细杆(19)外径大小,方槽与细杆(19)紧密配合。

4.根据权利要求1所述的一种刀片磨床用夹持装置,其特征在于,所述固定夹板(6)和移动夹板(9)互相靠近的一端固定连接有塑性塑料垫。

5.根据权利要求1所述的一种刀片磨床用夹持装置,其特征在于,所述长杆(12)、第一连杆(15)、第二连杆(16)、细杆(19)均采用不锈钢金属材料,且长杆(12)、第一连杆(15)、第二连杆(16)、细杆(19)均为实心结构。

6.根据权利要求1所述的一种刀片磨床用夹持装置,其特征在于,所述底座(1)通过焊接方式固定安装在磨床底座上。

7.根据权利要求1所述的一种刀片磨床用夹持装置,其特征在于,所述支杆(11)位于握把(13)和滑块(10)之间,支杆(11)与滑块(10)之间的距离远小于支杆(11)与握把(13)之间的距离。

我要求购
我不想找了,帮我找吧
您有专利需要变现?
我要出售
智能匹配需求,快速出售