欢迎来到知嘟嘟! 联系电话:13336804447 卖家免费入驻,海量在线求购! 卖家免费入驻,海量在线求购!
知嘟嘟
我要发布
联系电话:13336804447
知嘟嘟经纪人
收藏
专利号: 2023233289267
申请人: 海口银蜡建筑工程有限公司
专利类型:实用新型
专利状态:已下证
专利领域: 卷扬;提升;牵引
更新日期:2025-01-06
缴费截止日期: 暂无
价格&联系人
年费信息
委托购买

摘要:

权利要求书:

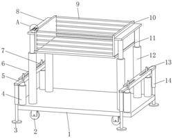
1.一种建筑幕墙安装用升降平台,其特征在于:包括平台底座(1),所述平台底座(1)的上表面固定安装有两组第一电动液压推杆(4),每组所述第一电动液压推杆(4)的输出端均固定安装有固定板(6),每个所述固定板(6)的正面和每个固定板(6)的背面均开设有条形滑槽(15),每个所述条形滑槽(15)的内壁均滑动连接有滑动板(5),每个所述滑动板(5)的底面均固定安装有第二电动液压推杆(14),每个所述第二电动液压推杆(14)的输出端均固定安装有支撑座(3)。

2.根据权利要求1所述的一种建筑幕墙安装用升降平台,其特征在于:每个所述固定板(6)的上表面均开设有两个条形口(7),每个所述滑动板(5)的上表面均固定安装有拨杆(13),每个所述拨杆(13)的顶端均贯穿条形口(7)并延伸至固定板(6)的外部。

3.根据权利要求1所述的一种建筑幕墙安装用升降平台,其特征在于:所述平台底座(1)的上表面固定安装有两组第三电动液压推杆(12),每组所述第三电动液压推杆(12)的输出端均固定安装有横板(8)。

4.根据权利要求3所述的一种建筑幕墙安装用升降平台,其特征在于:两个所述横板(8)相互靠近的一侧面均固定安装有防护板(10),两个所述防护板(10)的底面共同固定安装有平台本体(11)。

5.根据权利要求4所述的一种建筑幕墙安装用升降平台,其特征在于:两个所述防护板(10)相互靠近的一侧面共同固定安装有两组若干等距离排列的防护杆(9)。

6.根据权利要求3所述的一种建筑幕墙安装用升降平台,其特征在于:其中一个所述横板(8)的上表面固定安装有控制器(16),所述平台底座(1)的底面固定安装有四个万向轮(2)。