欢迎来到知嘟嘟! 联系电话:13336804447 卖家免费入驻,海量在线求购! 卖家免费入驻,海量在线求购!
知嘟嘟
我要发布
联系电话:13336804447
知嘟嘟经纪人
收藏
专利号: 2023232845222
申请人: 新乡市燎原嘉业机械科技有限公司
专利类型:实用新型
专利状态:已下证
专利领域: 一般车辆
更新日期:2025-04-01
缴费截止日期: 暂无
价格&联系人
年费信息
委托购买

摘要:

权利要求书:

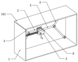
1.一种房车升降顶板调节装置,包括房车箱(1)和伸缩气缸(2),其特征在于:所述房车箱(1)的上端设置有房车顶板(101),靠近所述房车箱(1)内壁的一侧设置有伸缩气缸(2),所述伸缩气缸(2)的输出端固定连接有连杆(3),所述连杆(3)的一端铰接有一对连接杆(4),一对所述连接杆(4)的一端分别与房车箱(1)的内底端以及房车顶板(101)相铰接,所述伸缩气缸(2)远离连杆(3)的一端还铰接有另一对连接杆(4),另一对所述连接杆(4)的一端分别与房车箱(1)的内底端以及房车顶板(101)相铰接,所述伸缩气缸(2)的一侧固定连接有加固机构(5),所述伸缩气缸(2)的输出端外圆周面固定连接有抵实块(6),所述抵实块(6)与加固机构(5)相接触。

2.根据权利要求1所述的一种房车升降顶板调节装置,其特征在于:所述加固机构(5)包括外壳体(501)、齿条(502)、蜗杆(503)、伞形齿轮一(504)、摇杆(505)和伞形齿轮二(506),所述外壳体(501)固定连接在伸缩气缸(2)的一侧,所述外壳体(501)的内腔贯穿并滑动连接有齿条(502),所述外壳体(501)的内腔转动连接有蜗杆(503),所述蜗杆(503)与齿条(502)相啮合,所述蜗杆(503)的外圆周面固定连接有伞形齿轮一(504),所述外壳体(501)的一侧贯穿并转动连接有摇杆(505),所述摇杆(505)的一端固定连接有伞形齿轮二(506),所述伞形齿轮二(506)与伞形齿轮一(504)相啮合。

3.根据权利要求2所述的一种房车升降顶板调节装置,其特征在于:所述伸缩气缸(2)的上端和下端均固定连接有限位框(201),位于所述伸缩气缸(2)上方的限位框(201)其上端贯穿并滑动连接有插块(202),所述外壳体(501)的上端和下端均固定连接有定位块(507),所述定位块(507)与限位框(201)相匹配,位于所述外壳体(501)上端的定位块(507)其上表面开设有定位槽(5071),所述定位槽(5071)与插块(202)的下端相匹配。

4.根据权利要求3所述的一种房车升降顶板调节装置,其特征在于:所述插块(202)的两端均固定连接有弹簧(203),所述弹簧(203)的下端与限位框(201)相固定。

5.根据权利要求3所述的一种房车升降顶板调节装置,其特征在于:所述插块(202)的一侧开设有方孔(2021),所述方孔(2021)的内壁设有橡胶层。

6.根据权利要求2所述的一种房车升降顶板调节装置,其特征在于:所述齿条(502)的上端和下端均开设有限位滑槽(5021),所述外壳体(501)内壁固定连接有一对限位块(5011),所述限位块(5011)与限位滑槽(5021)相匹配。