欢迎来到知嘟嘟! 联系电话:13336804447 卖家免费入驻,海量在线求购! 卖家免费入驻,海量在线求购!
知嘟嘟
我要发布
联系电话:13336804447
知嘟嘟经纪人
收藏
专利号: 2016108025627
申请人: 敖爱东
专利类型:发明专利
专利状态:授权未缴费
专利领域: 建筑物
更新日期:2024-10-30
缴费截止日期: 暂无
价格&联系人
年费信息
委托购买

摘要:

权利要求书:

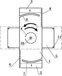
1.一种方便车辆上下的升降旋转载车板,由载车板主体(1)、上斜坡板(2)、下斜坡板(3)、旋转驱动机构(4)、升降托架(5)组成,其特征是:在载车板主体(1)的一个侧边上有纵向伸出的第1边梁(6),所述第1边梁(6)与上斜坡板(2)的侧部相接,载车板主体(1)与上斜坡板(2)之间存在着第1扇环形空隙(7);在载车板主体(1)的另一个侧边上有纵向伸出的第2边梁(8),所述第2边梁(8)与第1边梁(6)的伸出方向相反,第2边梁(8)与下斜坡板(3)的侧部相接,载车板主体(1)与下斜坡板(3)之间存在着第2扇环形空隙(9);载车板主体(1)通过一个转轴(10)安装在升降托架(5)上面,在载车板主体(1)与升降托架(5)之间安装旋转驱动机构(4),在升降托架(5)的四个角安装有升降索(11);在旋转驱动机构(4)作用下,载车板主体(1)、上斜坡板(2)、下斜坡板(3)围绕着转轴(10)的轴心线做水平旋转;

升降索(11)与升降托架(5)直接相连,在升降索(11)上套有护管(12);

升降索(11)通过一个弧形板提手(13)与升降托架(5)相连,弧形板提手(13)安装在升降托架(5)的四个角,弧形板提手(13)由弧形立板(14)及上部的索具接头(15)组成,弧形立板(14)下部与升降托架(5)连接,索具接头(15)与升降索(11)连接。

我要求购
我不想找了,帮我找吧
您有专利需要变现?
我要出售
智能匹配需求,快速出售