欢迎来到知嘟嘟! 联系电话:13336804447 卖家免费入驻,海量在线求购! 卖家免费入驻,海量在线求购!
知嘟嘟
我要发布
联系电话:13336804447
知嘟嘟经纪人
收藏
专利号: 2023230246984
申请人: 江苏大凯机械设备有限公司
专利类型:实用新型
专利状态:已下证
专利领域: 机床;其他类目中不包括的金属加工
更新日期:2025-04-03
缴费截止日期: 暂无
价格&联系人
年费信息
委托购买

摘要:

权利要求书:

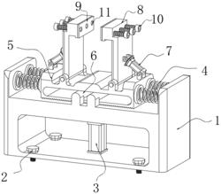
1.一种机床工装用浮动夹紧机构,其特征在于:包括装置主体(1)、浮动座(5)、滑杆(6)、夹持块(8)以及定位头(11),所述装置主体(1)底部四端螺纹连接有安装螺栓(2),所述装置主体(1)底部安装有第一气缸(3),所述装置主体(1)顶部设有浮动座(5),且装置主体(1)顶部与滑杆(6)两端焊接,所述滑杆(6)与浮动座(5)内部滑动连接,所述浮动座(5)顶部设有两个夹持块(8),所述夹持块(8)底部与浮动座(5)顶部转动连接,所述夹持块(8)一侧与第二气缸(7)伸缩端转动连接,且第二气缸(7)底部一端与浮动座(5)顶部转动连接。

2.根据权利要求1所述一种机床工装用浮动夹紧机构,其特征在于:所述装置主体(1)顶部表面开设有圆形孔槽,且第一气缸(3)伸缩端设置于装置主体(1)顶部表面孔槽内部,所述第一气缸(3)伸缩端与浮动座(5)底部均为啮齿状。

3.根据权利要求1所述一种机床工装用浮动夹紧机构,其特征在于:所述滑杆(6)设有两个,两个所述滑杆(6)设置于浮动座(5)内部孔槽中,所述浮动座(5)内部孔槽贯穿浮动座(5)两侧。

4.根据权利要求1所述一种机床工装用浮动夹紧机构,其特征在于:所述浮动座(5)两端设有弹簧(4),且弹簧(4)一端与浮动座(5)焊接,并且弹簧(4)另一端与装置主体(1)顶部一侧焊接。

5.根据权利要求1所述一种机床工装用浮动夹紧机构,其特征在于:所述夹持块(8)顶部一侧呈平面状,且夹持块(8)顶部开设有三个通孔,通孔与紧定螺栓(10)螺纹连接,所述紧定螺栓(10)一端呈六角凹槽状。

6.根据权利要求1所述一种机床工装用浮动夹紧机构,其特征在于:所述夹持块(8)一侧表面粘接有橡胶垫(9),且紧定螺栓(10)一端设有定位头(11),所述定位头(11)为橡胶材质。