欢迎来到知嘟嘟! 联系电话:13336804447 卖家免费入驻,海量在线求购! 卖家免费入驻,海量在线求购!
知嘟嘟
我要发布
联系电话:13336804447
知嘟嘟经纪人
收藏
专利号: 2023228802510
专利类型:实用新型
专利状态:未下证
专利领域: 暂无
更新日期:2024-06-21
缴费截止日期: 暂无
价格&联系人
年费信息
委托购买

摘要:

权利要求书:

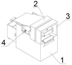
1.一种可调节式箱包制造用皮革铲皮机,包括底座组件(1)、铲皮组件(2)、磨刀组件(3)、切刀组件(4),所述底座组件(1)上端与铲皮组件(2)和磨刀组件(3)固定连接,所述底座组件(1)中部固定连接有切刀组件(4),其特征在于:还包括底座组件(1),所述底座组件(1)包括;

底座(11),所述底座(11)后端与收纳箱(14)滑动连接;

滑槽(12),所述滑槽(12)设于底座(11)前端;

固定架(13),所述固定架(13)固定连接于底座(11)上端;

收纳箱(14),所述收纳箱(14)后端固定连接有把手;

脚轮(15),所述脚轮(15)上端与底座(11)固定连接;

皮革槽(16),所述皮革槽(16)设于收纳箱(14)内;

隔板(17),所述隔板(17)固定连接于皮革槽(16)内。

2.根据权利要求1所述一种可调节式箱包制造用皮革铲皮机,其特征在于:所述铲皮组件(2)包括;

第一电动推杆(21),所述第一电动推杆(21)上端与固定架(13)固定连接;

铲皮架(22),所述铲皮架(22)上端与第一电动推杆(21)固定连接;

固定滑槽(23),所述固定滑槽(23)设于铲皮架(22)中部;

固定块(24),所述固定块(24)通过固定滑槽(23)滑动连接于铲皮架(22)内;

固定带(25),所述固定带(25)前端与固定块(24)固定连接,所述固定带(25)后端与铲皮架(22)固定连接;

连接块(26),所述连接块(26)通过固定滑槽(23)滑动连接于铲皮架(22)内;

铲刀(27),所述铲刀(27)转动连接于连接块(26)之间。

3.根据权利要求1所述一种可调节式箱包制造用皮革铲皮机,其特征在于:所述磨刀组件(3)包括;

磨刀块(31),所述磨刀块(31)通过滑槽(12)滑动连接于底座(11)前端;

第二电动推杆(32),所述第二电动推杆(32)前端与磨刀块(31)固定连接,所述第二电动推杆(32)后端与底座(11)固定连接;

第一电机(33),所述第一电机(33)前端与磨刀块(31)固定连接,所述第一电机(33)前端驱动轴与磨刀轮(34)固定连接;

磨刀轮(34),所述磨刀轮(34)左右两端与磨刀块(31)转动连接;

第三电动推杆(35),所述第三电动推杆(35)上端与固定架(13)固定连接;

夹持架(36),所述夹持架(36)上端与第三电动推杆(35)固定连接;

夹持轮(37),所述夹持轮(37)前后两端与夹持架(36)转动连接。

4.根据权利要求1所述一种可调节式箱包制造用皮革铲皮机,其特征在于:所述切刀组件(4)包括;

滑块(41),所述滑块(41)滑动连接于底座(11)上端;

导皮板(42),所述导皮板(42)左右两端与滑块(41)转动连接;

第四电动推杆(43),所述第四电动推杆(43)下端与底座(11)固定连接;

切刀架(44),所述切刀架(44)下端与第四电动推杆(43)固定连接;

第二电机(45),所述第二电机(45)前端与切刀架(44)固定连接;

螺纹杆(46),所述螺纹杆(46)左右两端与切刀架(44)转动连接,所述螺纹杆(46)左侧与第二电机(45)前端驱动轴固定连接;

切刀块(47),所述切刀块(47)上端与切刀架(44)滑动连接,所述切刀块(47)下端与螺纹杆(46)螺纹连接。

5.根据权利要求1所述一种可调节式箱包制造用皮革铲皮机,其特征在于:所述脚轮(15)共设有四组且均设于收纳箱(14)下端,所述底座(11)上端后侧也设有滑槽(12)。

6.根据权利要求2所述一种可调节式箱包制造用皮革铲皮机,其特征在于:所述第一电动推杆(21)共设有两组且均设于铲皮架(22)上端,所述固定块(24)和固定带(25)均设有两组。

7.根据权利要求4所述一种可调节式箱包制造用皮革铲皮机,其特征在于:所述第四电动推杆(43)和切刀块(47)均设有两组。