欢迎来到知嘟嘟! 联系电话:13336804447 卖家免费入驻,海量在线求购! 卖家免费入驻,海量在线求购!
知嘟嘟
我要发布
联系电话:13336804447
知嘟嘟经纪人
收藏
专利号: 2020100799768
申请人: 苏州爱柯基科技有限公司
专利类型:发明专利
专利状态:已下证
专利领域: 小原皮;大原皮;毛皮;皮革
更新日期:2024-01-17
缴费截止日期: 暂无
价格&联系人
年费信息
委托购买

摘要:

权利要求书:

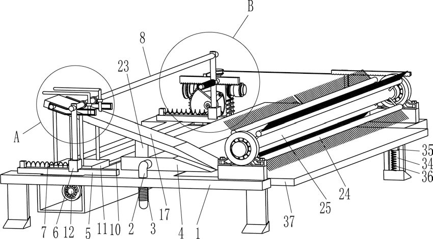
1.一种皮革钱包生产用的自动铲边装置,其特征是,包括有:支撑板;固定部件,设置于支撑板顶部中间,通过升降方式进行压紧;滑动铲皮部件,设置于支撑板顶部左侧,通过滑动方式进行铲皮;清洁部件,设置于支撑板顶部右侧,通过转动方式进行清洁;传动部件,设置于滑动铲皮部件上,通过滑动的方式进行间歇传动;固定部件包括有L形导杆、第一弹簧和压板,支撑板顶部中间前后两侧均滑动式设有L形导杆,L形导杆与支撑板之间连接有第一弹簧,L形导杆顶部之间设有压板;滑动铲皮部件包括有滑轨、第一滑块、第二弹簧、凹形架、第一导套、滑板、丝杆、螺母、第一全齿轮、导轨、滑轴、铲刀、L形杆、第二导套、减速电机、扇形齿轮和挡块,支撑板顶部左侧前后两方均设有滑轨,滑轨上均滑动式设有第一滑块,第一滑块与滑轨之间连接有第二弹簧,前后两侧第一滑块之间设有凹形架,凹形架前部滑动式设有两个第一导套,支撑板左部开有第一滑槽,第一滑槽内滑动式设有滑板,滑板底部设有螺母,支撑板底部左侧转动式设有丝杆,丝杆与螺母配合,丝杆后侧设有第一全齿轮,滑板顶部前后两侧均设有导轨,导轨内滑动式设有滑轴,滑轴之间设有铲刀,铲刀底部右侧设有挡块,挡块与压板配合,第一导套右侧设有第二导套,第二导套内滑动式设有L形杆,L形杆底部与铲刀连接,支撑板左部后侧开有一字孔,支撑板顶部后侧设有减速电机,减速电机输出轴上设有扇形齿轮,扇形齿轮与第一全齿轮啮合,扇形齿轮与一字孔在竖直方向有部分重合;清洁部件包括有刷子和转动轴,支撑板顶部右侧转动式设有转动轴,转动轴上均匀设有至少两个刷子;传动部件包括有导向杆、第一齿条和第三弹簧,凹形架后部滑动式设有导向杆,导向杆后侧设有第一齿条,导向杆与凹形架之间连接有第三弹簧;还包括有滑轮、拉线、第二滑块、第二齿条、第四弹簧和第二全齿轮,减速电机顶部设有滑轮,第一齿条后侧连接有拉线,支撑板顶部后侧设有第二滑块,第二滑块上滑动式设有第二齿条,第二齿条与第二滑块之间连接有第四弹簧,拉线绕过滑轮与第二齿条连接,转动轴后侧设有第二全齿轮,第二全齿轮与第二齿条啮合。2.如权利要求1所述的一种皮革钱包生产用的自动铲边装置,其特征是,还包括有第三滑块、第五弹簧和放置板,支撑板右侧下部前后对称开有第二滑槽,第二滑槽内滑动式设有第三滑块,第三滑块与第二滑槽之间连接有第五弹簧,前后两侧第三滑块之间设有放置板,放置板与支撑板配合。