欢迎来到知嘟嘟! 联系电话:13336804447 卖家免费入驻,海量在线求购! 卖家免费入驻,海量在线求购!
知嘟嘟
我要发布
联系电话:13336804447
知嘟嘟经纪人
收藏
专利号: 2023227982287
专利类型:实用新型
专利状态:未下证
专利领域: 暂无
更新日期:2024-06-05
缴费截止日期: 暂无
价格&联系人
年费信息
委托购买

摘要:

权利要求书:

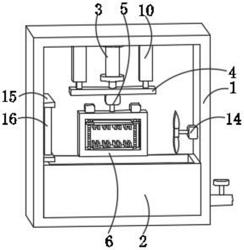
1.一种手术刀消毒箱,包括箱体(1),其特征在于:所述箱体(1)内腔的底部栓接有框体(2),所述框体(2)右侧的底部连通有排水管,且排水管的右端贯穿箱体(1)并向右延伸,所述箱体(1)内腔顶部的中心处栓接有气缸(3),所述气缸(3)的活塞杆栓接有安装板(4),所述安装板(4)的底部栓接有第一电机(5),所述第一电机(5)的输出轴固定连接有移动框(6),所述移动框(6)的内腔设置有限位机构(7),所述箱体(1)正面的左侧通过合页铰接有箱门(17),所述箱门(17)正面的顶部和底部均嵌设有透明玻璃。

2.根据权利要求1所述的一种手术刀消毒箱,其特征在于:所述限位机构(7)包括第二电机(71)、丝杆(72)、螺纹套(73)、第一夹板(74)、第二夹板(75)和限位块(76),所述第二电机(71)栓接于移动框(6)顶部的两侧,所述第二电机(71)的输出轴与丝杆(72)的顶部固定连接,所述丝杆(72)的底部贯穿移动框(6)并通过轴承与移动框(6)内腔底部的两侧转动连接,所述第二夹板(75)栓接于移动框(6)内腔底部的中心处,所述螺纹套(73)螺纹连接于丝杆(72)的表面,所述螺纹套(73)相向的一侧与第一夹板(74)的两侧栓接,所述限位块(76)从左至右均依次栓接于第一夹板(74)和第二夹板(75)相向的一侧。

3.根据权利要求1所述的一种手术刀消毒箱,其特征在于:所述移动框(6)内腔的两侧均开设有第一滑槽(8),所述第一滑槽(8)的内腔滑动连接有第一滑块(9),所述第一滑块(9)相向的一侧与螺纹套(73)远离第一夹板(74)的一侧栓接。

4.根据权利要求1所述的一种手术刀消毒箱,其特征在于:所述箱体(1)内腔顶部的两侧均栓接有支撑箱(10),所述支撑箱(10)内腔的两侧均开设有第二滑槽(11),所述第二滑槽(11)的内腔滑动连接有第二滑块(12),所述第二滑块(12)相向的一侧栓接有支撑杆(13),所述支撑杆(13)的底部贯穿支撑箱(10)并与安装板(4)顶部的两侧栓接。

5.根据权利要求1所述的一种手术刀消毒箱,其特征在于:所述箱体(1)内腔的右侧栓接有第三电机(14),所述第三电机(14)的输出轴固定连接有旋转轴,且旋转轴的左侧栓接有扇叶。

6.根据权利要求1所述的一种手术刀消毒箱,其特征在于:所述箱体(1)内腔的左侧从上至下均依次栓接有固定板(15),所述固定板(15)相向的一侧安装有紫外线灯(16)。