欢迎来到知嘟嘟! 联系电话:13336804447 卖家免费入驻,海量在线求购! 卖家免费入驻,海量在线求购!
知嘟嘟
我要发布
联系电话:13336804447
知嘟嘟经纪人
收藏
专利号: 2022230743978
申请人: 黎德规
专利类型:实用新型
专利状态:已下证
专利领域: 医学或兽医学;卫生学
更新日期:2024-02-26
缴费截止日期: 暂无
价格&联系人
年费信息
委托购买

摘要:

权利要求书:

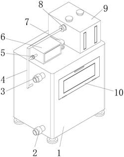
1.一种外科手术刀高效消毒机,包括消毒箱(1)和放置网框(13),其特征在于:所述消毒箱(1)外表面顶部的右端固定连接有盛放箱(9),所述盛放箱(9)内腔的中端固定连接有隔板(22),所述盛放箱(9)外表面左侧的上端固定安装有输送泵(8),所述输送泵(8)输入端的底部固定安装有第二电磁阀(18),所述第二电磁阀(18)的底部固定安装有第一进液管(17),所述输送泵(8)输入端的顶部固定安装有第三电磁阀(19),所述第三电磁阀(19)的右侧与隔板(22)的上端之间固定安装有第二进液管(20),所述输送泵(8)的输出端固定安装有主管路(4),所述主管路(4)的下端与消毒箱(1)内腔的上端之间固定连接有喷管(12),所述消毒箱(1)外表面顶部的左端固定连接有加热箱(6),所述加热箱(6)内腔的中端固定安装有电加热丝(24),所述加热箱(6)内腔左侧的中端固定安装有鼓风机(23),所述鼓风机(23)的输出端与主管路(4)的上端之间固定安装有第一电磁阀(5)。

2.根据权利要求1所述的一种外科手术刀高效消毒机,其特征在于:所述消毒箱(1)外表面顶部的中端固定安装有伺服电机(7),所述伺服电机(7)的输出端固定安装有固定支架(11),所述固定支架(11)的底部固定连接于放置网框(13)的顶部。

3.根据权利要求1所述的一种外科手术刀高效消毒机,其特征在于:所述消毒箱(1)内腔的下端固定连接有导流板(14),所述导流板(14)的中端固定连接有导液管(15),所述放置网框(13)外表面底部的四周均通过轴承活动连接有支撑轮(16),所述支撑轮(16)的底部活动连接于导流板(14)的顶部。

4.根据权利要求1所述的一种外科手术刀高效消毒机,其特征在于:所述消毒箱(1)左侧的下端固定安装有第一排放阀(2),所述消毒箱(1)左侧的上端固定安装有第二排放阀(3)。

5.根据权利要求1所述的一种外科手术刀高效消毒机,其特征在于:所述消毒箱(1)正表面的上端通过合页活动连接有活动门(10),所述活动门(10)的中端固定安装有透明观察板。

6.根据权利要求1所述的一种外科手术刀高效消毒机,其特征在于:所述加热箱(6)内腔的右端固定安装有HEPA过滤网(26),所述加热箱(6)内腔的右端且位于HEPA过滤网(26)的左方固定安装有活性炭过滤网(25)。

7.根据权利要求1所述的一种外科手术刀高效消毒机,其特征在于:所述盛放箱(9)顶部的两端均固定连接有加注管(21),所述盛放箱(9)正表面的两端均固定连接有透明视液板。