欢迎来到知嘟嘟! 联系电话:13336804447 卖家免费入驻,海量在线求购! 卖家免费入驻,海量在线求购!
知嘟嘟
我要发布
联系电话:13336804447
知嘟嘟经纪人
收藏
专利号: 2023227856852
专利类型:实用新型
专利状态:未下证
专利领域: 暂无
更新日期:2024-06-12
缴费截止日期: 暂无
价格&联系人
年费信息
委托购买

摘要:

权利要求书:

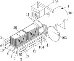
1.一种木材干燥窑上料装置,其特征在于,包括设置在干燥窑设备(1)前侧的上料装置支架(2):所述干燥窑设备(1)包括干燥窑主体(101)、运行装置(102)、窑门(103)和基座(104),所述上料装置支架(2)右侧的前侧固定安装有电机(3),所述上料装置支架(2)内腔的前后均转动连接有转动柱(4),前侧的转动柱(4)的右端与电机(3)的输出轴固定连接,所述转动柱(4)表面的两侧均固定连接有链轮(5),前后相对两个链轮(5)的表面传动连接有链条(6),两个链条(6)之间焊接有连接板(7),所述连接板(7)的顶部设置有底座(8),所述底座(8)的底部安装有多个自锁轮(9),所述连接板(7)的表面开设有与自锁轮(9)相卡合的卡槽(10),所述基座(104)的顶部开设有与自锁轮(9)相适配的滑槽(11),所述底座(8)顶部的前后均设置有多个放置架(13),所述底座(8)右侧的前侧与中间均转动连接有螺纹杆(14),所述螺纹杆(14)贯穿至最顶部放置架(13)的顶部,所述底座(8)的顶部固定连接有多个导向杆(15),所述放置架(13)的顶部放置有木材(20)。

2.根据权利要求1所述的一种木材干燥窑上料装置,其特征在于,所述上料装置支架(2)的内腔转动连接有多个承接辊(12),所述承接辊(12)表面的顶部与连接板(7)内腔的顶部相贴合。

3.根据权利要求2所述的一种木材干燥窑上料装置,其特征在于,所述螺纹杆(14)表面的顶部固定连接有手柄(16)。

4.根据权利要求3所述的一种木材干燥窑上料装置,其特征在于,最底层的放置架(13)固定连接于螺纹杆(14)和导向杆(15)的表面,第二层以上的多个放置架(13)螺纹连接于螺纹杆(14)的表面,第二层以上的多个放置架(13)滑动连接于导向杆(15)的表面。

5.根据权利要求4所述的一种木材干燥窑上料装置,其特征在于,所述放置架(13)之间固定连接有中间杆(17)。

6.根据权利要求5所述的一种木材干燥窑上料装置,其特征在于,上下相对应的两个放置架(13)之间均固定连接有相对应的T形件(18),两个相对应T形件(18)的表面滑动连接有滑套(19)。