欢迎来到知嘟嘟! 联系电话:13336804447 卖家免费入驻,海量在线求购! 卖家免费入驻,海量在线求购!
知嘟嘟
我要发布
联系电话:13336804447
知嘟嘟经纪人
收藏
专利号: 2021111707618
申请人: 南通市凤杨包装制品有限公司
专利类型:发明专利
专利状态:已下证
专利领域: 干燥
更新日期:2024-04-15
缴费截止日期: 暂无
价格&联系人
年费信息
委托购买

摘要:

权利要求书:

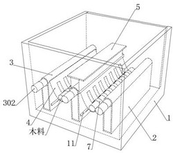
1.一种上下摩擦翻转式木料干燥装置,包括烘干箱(1),其特征在于:所述烘干箱(1)内底部设有三个透气承托座(2),多个所述透气承托座(2)顶端均设有热风管(3),多个所述透气承托座(2)内部均开设有蓄热腔(201),所述热风管(3)底端壁开设有与蓄热腔(201)相连通的供热孔(301),所述烘干箱(1)外端壁设有多个与热风管(3)相连接的供气管(302),相邻两个所述热风管(3)之间设有承托带(4),一对所述承托带(4)外端分别连接在位于外端的热风管(3)上,位于中部的所述热风管(3)的左右两端均设有穿带板(8),一对所述承托带(4)内端分别贯穿一对穿带板(8)并延伸向上连接有上衔接板(5),位于中部的所述热风管(3)的顶端安装有与上衔接板(5)的底端面上相连接的第一电动推杆(6);

一对所述承托带(4)两侧均开设有多个透气槽(401),所述承托带(4)上设有多个与多对透气槽(401)位置对应的摩擦带(7),所述摩擦带(7)的下端两侧分别贯穿一对透气槽(401)并延伸向下,且摩擦带(7)与承托带(4)之间形成木料放置腔,多个所述蓄热腔(201)内部均滑动衔接有下衔接板(9),左右设置的两组所述摩擦带(7)的下端两侧分别贯穿至与其位置对应的蓄热腔(201)内并连接于下衔接板(9)底端,位于中部的所述热风管(3)底端设有多个与下衔接板(9)相连接的拉伸弹簧,位于两侧的所述热风管(3)底端均固定连接有与下衔接板(9)相连接的第二电动推杆(10),多个所述摩擦带(7)的中部底端设有与木料相贴合设置的吸水带(701),所述吸水带(701)内设有吸水填料。

2.根据权利要求1所述的一种上下摩擦翻转式木料干燥装置,其特征在于:位于两侧的所述透气承托座(2)的相对端面以及位于中部的所述透气承托座(2)的两侧端面均设有透气面,所述透气面上开设有透气微孔,且下衔接板(9)采用透气材料制成。

3.根据权利要求1所述的一种上下摩擦翻转式木料干燥装置,其特征在于:所述承托带(4)靠近穿带板(8)一侧上端设有连接带,所述连接带贯穿穿带板(8)并与上衔接板(5)相连接,所述穿带板(8)内开设有上下贯穿的活动腔。

4.根据权利要求1所述的一种上下摩擦翻转式木料干燥装置,其特征在于:所述承托带(4)、摩擦带(7)以及吸水带(701)均采用吸水纤维材料制成,所述吸水带(701)底端面与承托带(4)上端面均设有凸起。

5.根据权利要求1所述的一种上下摩擦翻转式木料干燥装置,其特征在于:所述吸水带(701)为内外双层包囊,所述吸水填料设置于包囊内。

6.根据权利要求5所述的一种上下摩擦翻转式木料干燥装置,其特征在于:所述吸水填料包括分布连接于包囊内的多个吸水条(703),多个所述吸水条(703)将包囊内部分隔呈多个吸水腔,多个所述吸水腔内均填充有多个干燥剂(702)。

7.根据权利要求6所述的一种上下摩擦翻转式木料干燥装置,其特征在于:多个所述吸水条(703)上均设有多个吸水纤维丝(704),多个所述吸水纤维丝(704)贯穿吸水带(701)并延伸向外。

8.根据权利要求6所述的一种上下摩擦翻转式木料干燥装置,其特征在于:所述干燥剂(702)为变色硅胶与普通硅胶混合物,所述吸水带(701)的上端面设有多个透明观察条,所述透明观察条选用透明材料制成。

9.根据权利要求1所述的一种上下摩擦翻转式木料干燥装置,其特征在于:所述位于中部所述透气承托座(2)的两侧以及位于两侧所述透气承托座(2)的相对端壁上均嵌设安装导向辊(11),所述摩擦带(7)穿过导向辊(11)底端并连接于下衔接板(9)下端壁上。

10.根据权利要求1所述的一种上下摩擦翻转式木料干燥装置,其特征在于:多个所述供热孔(301)的外端与外接热风源相连接,所述烘干箱(1)的一端设有同样与外接热风源相连接的排流通道。