欢迎来到知嘟嘟! 联系电话:13336804447 卖家免费入驻,海量在线求购! 卖家免费入驻,海量在线求购!
知嘟嘟
我要发布
联系电话:13336804447
知嘟嘟经纪人
收藏
专利号: 2023226599983
专利类型:实用新型
专利状态:未下证
专利领域: 暂无
更新日期:2024-04-18
缴费截止日期: 暂无
价格&联系人
年费信息
委托购买

摘要:

权利要求书:

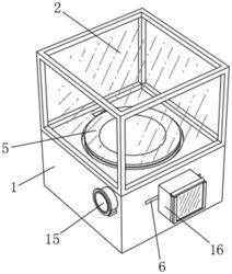
1.一种可实现多角度展示的玻璃展示柜,包括底座(1),其特征在于:所述底座(1)的顶端固定安装有玻璃罩(2),所述底座(1)顶端的中部开设有贯穿槽(3),所述底座(1)的中部开设有辅助槽(6),所述辅助槽(6)的顶端与贯穿槽(3)之间相互贯穿,所述辅助槽(6)与底座(1)的正面相互贯穿,所述贯穿槽(3)的内壁转动连接有转轴(4),所述转轴(4)顶端固定连接有放置盘(5),所述转轴(4)的底端与辅助槽(6)的底端转动连接,所述转轴(4)外壁的底部套设有齿环(7),所述齿环(7)的正面啮合有齿轮(8)。

2.根据权利要求1所述的一种可实现多角度展示的玻璃展示柜,其特征在于:所述齿轮(8)的外壁延伸至辅助槽(6)的外部,所述齿轮(8)的顶端和底端的中部均与辅助槽(6)之间转动连接。

3.根据权利要求1所述的一种可实现多角度展示的玻璃展示柜,其特征在于:所述贯穿槽(3)的边缘设有活动环槽(9),所述活动环槽(9)开设在底座(1)的顶部,所述活动环槽(9)内壁的背面开设有限位槽(10),所述限位槽(10)内壁的一侧安装有控制按钮(11)。

4.根据权利要求3所述的一种可实现多角度展示的玻璃展示柜,其特征在于:所述放置盘(5)的外壁固定连接有辅助块(12),所述辅助块(12)的中部转动连接有延长板(13),所述延长板(13)的长度大于活动环槽(9)的宽度,所述延长板(13)的背面固定连接有连接弹簧(14),所述连接弹簧(14)的一端与辅助块(12)之间固定连接。

5.根据权利要求3所述的一种可实现多角度展示的玻璃展示柜,其特征在于:所述底座(1)的一侧固定安装有语音播报器(15),所述语音播报器(15)通过设置的控制按钮(11)与外接电源电性连接。

6.根据权利要求1所述的一种可实现多角度展示的玻璃展示柜,其特征在于:所述底座(1)的正面固定安装有套筒(16),所述套筒(16)位于辅助槽(6)的正前方,所述套筒(16)正面的顶部转动安装有遮挡板(17),所述遮挡板(17)的正面固定安装有放置架(18),所述放置架(18)的内壁插接有卡片(19)。

我要求购
我不想找了,帮我找吧
您有专利需要变现?
我要出售
智能匹配需求,快速出售