欢迎来到知嘟嘟! 联系电话:13336804447 卖家免费入驻,海量在线求购! 卖家免费入驻,海量在线求购!
知嘟嘟
我要发布
联系电话:13336804447
知嘟嘟经纪人
收藏
专利号: 2023222062851
专利类型:实用新型
专利状态:未下证
专利领域: 暂无
更新日期:2024-05-31
缴费截止日期: 暂无
价格&联系人
年费信息
委托购买

摘要:

权利要求书:

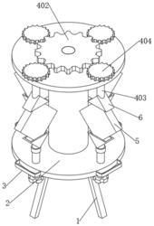
1.一种钢化玻璃展示架,其特征在于,包括底架(1)和钢化玻璃展品(5),所述底架(1)的顶面转动安装有转盘(2),所述底架(1)的底面和转盘(2)顶面设置有用于对钢化玻璃展品(5)进行旋转的转动机构(4),所述转动机构(4)的表面和底架(1)的内侧底部设置有用于对钢化玻璃展品(5)进行固定的固定机构(6),所述转动机构(4)包括电动机(401),所述底架(1)的底面固定安装有电动机(401),所述电动机(401)的输出端贯穿底架(1)的底面固定安装有转动轴且转动轴的自由端固定安装有第一齿轮(402),所述转盘(2)的顶面转动插接有连接轴(403),所述连接轴(403)的顶端固定安装有第二齿轮(404),且第二齿轮(404)和第一齿轮(402)呈啮合安装设置,所述固定机构(6)包括第一卡块(601),所述连接轴(403)的底端固定安装有第一卡块(601),且第一卡块(601)的内部设置有第一橡胶套(602),所述底架(1)的底部螺纹插接有螺纹杆(603),所述螺纹杆(603)的底端固定安装有旋钮(604),所述旋钮(604)的顶面转动安装有第二卡块(605),且第二卡块(605)的内部设置有第二橡胶套(606)。

2.根据权利要求1所述的一种钢化玻璃展示架,其特征在于,所述底架(1)的顶面开设有槽,且转盘(2)的底面设置有限位环,且限位环和底架(1)顶面的槽呈插接设置。

3.根据权利要求1所述的一种钢化玻璃展示架,其特征在于,所述转盘(2)的表面固定安装有把手(3),且把手(3)有多组,多组把手(3)均匀的设置在转盘(2)的表面。

4.根据权利要求1所述的一种钢化玻璃展示架,其特征在于,所述第一卡块(601)、第一橡胶套(602)、第二卡块(605)和第二橡胶套(606)均呈直角三角形状,且第一卡块(601)和第一橡胶套(602)分别与第二卡块(605)和第二橡胶套(606)呈对应设置。