欢迎来到知嘟嘟! 联系电话:13336804447 卖家免费入驻,海量在线求购! 卖家免费入驻,海量在线求购!
知嘟嘟
我要发布
联系电话:13336804447
知嘟嘟经纪人
收藏
专利号: 2023225698040
申请人: 蓝朝建
专利类型:实用新型
专利状态:已下证
专利领域: 测量;测试
更新日期:2024-08-25
缴费截止日期: 暂无
价格&联系人
年费信息
委托购买

摘要:

权利要求书:

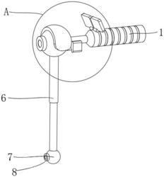
1.一种建筑施工质量检测装置,其特征在于:包括检测手柄(1),所述检测手柄(1)的前侧固定连接有衔接杆(2),所述衔接杆(2)的前端固定连接有滑套(3),所述滑套(3)的内部滚动连接有滚球(4),所述滚球(4)的前侧固定连接有第一激光测距仪(5),所述滚球(4)的底部固定连接有竖杆(6),所述竖杆(6)的端部固定连接有重力块(7),所述重力块(7)的前侧固定连接有第二激光测距仪(8)。

2.根据权利要求1所述的一种建筑施工质量检测装置,其特征在于:所述滑套(3)为球状,所述滑套(3)的内壁直径与滚球(4)的直径相适配,所述滑套(3)的前侧和底部均开设有开槽,所述滑套(3)与滚球(4)的摩擦系数小于零点五。

3.根据权利要求2所述的一种建筑施工质量检测装置,其特征在于:所述检测手柄(1)的顶部转动连接有显示屏(9),所述第一激光测距与(5)和第二激光测距仪(8)均与显示屏(9)电性连接,所述显示屏(9)分别显示第一激光测距与(5)和第二激光测距仪(8)检测到的距离数据。

4.根据权利要求3所述的一种建筑施工质量检测装置,其特征在于:所述第一激光测距仪(5)和第二激光测距仪(8)与竖杆(6)均为垂直状态,且第一激光测距仪(5)和第二激光测距仪(8)的检测端相互平行,所述第一激光测距仪(5)和第二激光测距仪(8)的检测端处于同一竖线。

5.根据权利要求4所述的一种建筑施工质量检测装置,其特征在于:所述竖杆(6)为阻尼伸缩杆,所述竖杆(6)伸缩的阻力大于竖杆(6)和重力块(7)的重力和。

6.根据权利要求5所述的一种建筑施工质量检测装置,其特征在于:所述衔接杆(2)的底部固定连接有磁吸块(10),所述磁吸块(10)的材质为磁石,所述磁吸块(10)的底部开设有磁吸槽(11),所述磁吸槽(11)的形状与竖杆(6)顶部的外侧形状相适配,所述竖杆(6)的外壁材质为铁。