欢迎来到知嘟嘟! 联系电话:13336804447 卖家免费入驻,海量在线求购! 卖家免费入驻,海量在线求购!
知嘟嘟
我要发布
联系电话:13336804447
知嘟嘟经纪人
收藏
专利号: 202322383999X
专利类型:实用新型
专利状态:未下证
专利领域: 暂无
更新日期:2024-07-18
缴费截止日期: 暂无
价格&联系人
年费信息
委托购买

摘要:

权利要求书:

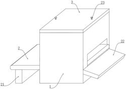
1.一种纺织品生产用纺织面料除皱装置,包括处理腔(1),其特征在于:所述处理腔(1)内部设置有操作板(2),所述操作板(2)通过进料口穿过处理腔(1),所述处理腔(1)顶端设置有盖板(3),所述盖板(3)底侧两端均设置有固定结构,所述盖板(3)底端安装有液压杆(4),所述液压杆(4)底端安装有安装块(5),所述盖板(3)上设置有安装机构,所述安装块(5)底端设置有除皱板(6)。

2.根据权利要求1所述的一种纺织品生产用纺织面料除皱装置,其特征在于:所述安装机构包括凹槽(7)、安装板(8)、安装槽(9)、滑杆(10)、活动块(11)、限位块(12)、弹簧(13)、丝杆(14)、移动块(15)和转把(23),所述处理腔(1)顶侧两端均开设有凹槽(7),所述盖板(3)底侧两端均固定设置有安装板(8),所述安装板(8)活动设置在凹槽(7)内部,所述安装板(8)内部开设有安装槽(9),所述安装槽(9)底端和固定设置有滑杆(10),所述滑杆(10)表面两端均通过活动孔活动设置有活动块(11),所述活动块(11)顶端固定设置有限位块(12),所述滑杆(10)靠近活动块(11)两端表面均套设有弹簧(13),所述限位块(12)远离滑杆(10)一端通过活动孔穿过安装板(8)并且活动设置在凹槽(7)内部,所述安装槽(9)内部通过转轴活动设置有丝杆(14),所述丝杆(14)底端通过转轴设置有移动块(15),所述丝杆(14)顶端通过螺纹孔穿过盖板(3),并且设置在盖板(3)一端,所述丝杆(14)一端安装有转把(23)。

3.根据权利要求1所述的一种纺织品生产用纺织面料除皱装置,其特征在于:所述安装机构,包括螺栓(16)、连接槽(17)、挤压板(18)、橡胶垫(19)和把手(20),所述安装块(5)一端通过螺纹孔活动设置有螺栓(16),所述安装块(5)内部开有连接槽(17),所述螺栓(16)的一端穿过安装块(5)设置在连接槽(17)内部,所述螺栓(16)位于连接槽(17)内部一端通过转轴活动设置有挤压板(18),所述挤压板(18)靠近除皱板(6)一侧固定设置有橡胶垫(19),所述螺栓(16)一端安装有把手(20)。

4.根据权利要求1所述的一种纺织品生产用纺织面料除皱装置,其特征在于:所述操作板(2)远离处理腔(1)一侧底端固定设置有支架(21)。

5.根据权利要求1所述的一种纺织品生产用纺织面料除皱装置,其特征在于:所述处理腔(1)远离支架(21)一侧底端固定设置有引料板(22)。

6.根据权利要求1所述的一种纺织品生产用纺织面料除皱装置,其特征在于:所述处理腔(1)两侧均为开口设置。